欢迎来到知嘟嘟! 联系电话:13336804447 卖家免费入驻,海量在线求购! 卖家免费入驻,海量在线求购!
知嘟嘟
我要发布
联系电话:13336804447
知嘟嘟经纪人
收藏
专利号: 2023231014819
申请人: 合肥汇久玻璃科技有限公司
专利类型:实用新型
专利状态:已下证
专利领域: 测量;测试
更新日期:2025-01-10
缴费截止日期: 暂无
价格&联系人
年费信息
委托购买

摘要:

权利要求书:

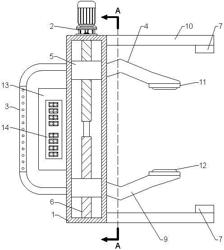
1.一种玻璃测厚装置,包括防护框(1),其特征在于,所述防护框(1)内设有双向螺纹杆(6),所述防护框(1)外表面设有上夹持件(4)、下夹持件(9)、把手(3)和控制箱(13),所述防护框(1)上部和下部均设有激光传感器(7),所述上夹持件(4)和下夹持件(9)上均设有平行圆板(11)。

2.根据权利要求1所述的一种玻璃测厚装置,其特征在于,所述防护框(1)顶部与底部均安装有连接架(10),两个所述激光传感器(7)分别安装于顶部连接架(10)的下表面和底部连接架(10)的上表面,所述连接架(10)的长度长于上夹持件(4)和下夹持件(9),两个所述激光传感器(7)位置垂直对应,所述激光传感器(7)内部安装有激光发生器、成像物镜、光电位敏接收器、信号处理机。

3.根据权利要求1所述的一种玻璃测厚装置,其特征在于,所述防护框(1)顶部安装有旋转电机(2),所述旋转电机(2)的转动轴与双向螺纹杆(6)同轴固定连接,所述双向螺纹杆(6)与防护框(1)内表面转动连接,所述防护框(1)外表面开设有条形滑槽(8),所述双向螺纹杆(6)上部与下部均套设有滑块(5)。

4.根据权利要求3所述的一种玻璃测厚装置,其特征在于,所述双向螺纹杆(6)的上部与下部螺纹方向相反,两个所述滑块(5)均与双向螺纹杆(6)螺纹连接,两个所述滑块(5)均与防护框(1)内壁滑动连接,所述上夹持件(4)的末端穿过滑槽(8)与一个滑块(5)固定连接,所述下夹持件(9)的末端穿过滑槽(8)与另一滑块(5)固定连接。

5.根据权利要求4所述的一种玻璃测厚装置,其特征在于,所述上夹持件(4)下表面和下夹持件(9)的上表面分别与一块平行圆板(11)固定连接,两个所述平行圆板(11)表面均安装有橡胶垫(12),所述橡胶垫(12)内安装有压力传感器,所述旋转电机(2)上安装有与压力传感器电性连接的控制器。

6.根据权利要求1所述的一种玻璃测厚装置,其特征在于,所述控制箱(13)固定安装于防护框(1)的外表面,所述控制箱(13)与两个激光传感器(7)均电性连接,所述控制箱(13)的外表面安装有显示屏(14)。

7.根据权利要求1所述的一种玻璃测厚装置,其特征在于,所述把手(3)固定安装于防护框(1)的外表面,所述把手(3)的外表面设有若干防滑橡胶粒。