欢迎来到知嘟嘟! 联系电话:13336804447 卖家免费入驻,海量在线求购! 卖家免费入驻,海量在线求购!
知嘟嘟
我要发布
联系电话:13336804447
知嘟嘟经纪人
收藏
专利号: 202323092045X
申请人: 黄河科技学院
专利类型:实用新型
专利状态:已下证
专利领域: 输送;包装;贮存;搬运薄的或细丝状材料
更新日期:2025-01-06
缴费截止日期: 暂无
价格&联系人
年费信息
委托购买

摘要:

权利要求书:

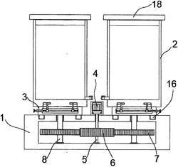
1.一种医学标本存放装置,包括安装座(1)和两个存放筒(2),其特征在于,两个所述存放筒(2)对称设置在安装座(1)的上端,所述安装座(1)内开设有转动腔,所述安装座(1)的上端面固定连接有伺服电机(4),所述伺服电机(4)的输出端贯穿安装座(1)的上端面并固定连接有第一转动杆(5),所述第一转动杆(5)的下端转动连接有转动腔的内壁上,所述第一转动杆(5)固定套接有第一齿轮(6),所述第一齿轮(6)对称啮合连接有第二齿轮(7),每个所述第二齿轮(7)的中心处均固定穿插有第二转动杆(8),每个所述第二转动杆(8)的下端均转动连接在转动腔的内壁上,每个所述第二转动杆(8)的上端均贯穿安装座(1)的上端面并固定连接有连接板(3),每个所述连接板(3)内均开设有螺纹腔,每个所述螺纹腔内壁上均转动连接有螺纹杆(9),每个所述螺纹杆(9)均对称螺纹套接有螺纹套(10),每个所述螺纹套(10)的上端面均固定连接有移动杆(11),每个所述移动杆(11)均固定连接有插块(12),每个所述存放筒(2)的下端面均对称开设有第一固定槽,每个所述第一固定槽的内壁上均开设有插块(12)相匹配的第二固定槽。

2.根据权利要求1所述的一种医学标本存放装置,其特征在于,每个所述螺纹杆(9)均固定连接有螺杆(13),每个所述螺杆(13)均贯穿连接板(3)的侧壁并固定连接有转动块(14),每个所述转动块(14)均螺纹套接有螺纹块(15)。

3.根据权利要求1所述的一种医学标本存放装置,其特征在于,所述安装座(1)的上端面对称开设有环形槽,每个所述环形槽内均对称滑动连接有滑块(16),每个所述滑块(16)均固定连接在连接板(3)的下端面。

4.根据权利要求1所述的一种医学标本存放装置,其特征在于,每个所述连接板(3)的上端面均对称开设有滑口,每个所述移动杆(11)均贯穿滑口。

5.根据权利要求1所述的一种医学标本存放装置,其特征在于,每个所述存放筒(2)的侧壁上均固定穿插有出液管(17),每个所述出液管(17)均设置有开关阀。

6.根据权利要求1所述的一种医学标本存放装置,其特征在于,每个所述存放筒(2)的上端均啮合连接有连接盖(18)。