欢迎来到知嘟嘟! 联系电话:13336804447 卖家免费入驻,海量在线求购! 卖家免费入驻,海量在线求购!
知嘟嘟
我要发布
联系电话:13336804447
知嘟嘟经纪人
收藏
专利号: 2023230084871
申请人: 平原县市场监督管理局
专利类型:实用新型
专利状态:已下证
专利领域: 手动切割工具;切割;切断
更新日期:2024-06-24
缴费截止日期: 暂无
价格&联系人
年费信息
委托购买

摘要:

权利要求书:

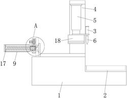
1.一种样本切片装置,包括切割台(1),其特征在于:所述切割台(1)上方的一侧安装有储药盒(2),所述切割台(1)上方的另一侧安装有固定板(7),所述固定板(7)的一侧安装有推料机构,所述切割台(1)顶端的中间位置处安装有安装架(4),所述安装架(4)内侧的顶端安装有电动伸缩杆(5),所述电动伸缩杆(5)底端的一侧安装有切割刀(6),所述切割刀(6)的顶端安装有气缸(3),所述电动伸缩杆(5)底端的另一侧安装有定位板(18),所述定位板(18)的内侧设置有固定机构;

所述推料机构包括固定板(7)、安装腔(8)、固定腔(9)、转套(10)、螺纹杆(11)、传动齿牙(12)、伺服电机(13)、主动齿轮(14)、推料板(15)和限位结构,所述固定板(7)安装于切割台(1)顶端的一侧,所述固定板(7)的一侧安装有安装腔(8),所述安装腔(8)的一侧安装有固定腔(9),所述固定腔(9)的一侧贯穿设置有转套(10),所述转套(10)的内部贯穿有螺纹杆(11),所述螺纹杆(11)的一端延伸至固定板(7)的一端,所述螺纹杆(11)的一端安装有推料板(15),所述转套(10)的外侧壁安装有传动齿牙(12),所述安装腔(8)的内部安装有主动齿轮(14),所述传动齿牙(12)的一侧与主动齿轮(14)的一侧相互啮合,所述安装腔(8)的一侧安装有伺服电机(13),所述伺服电机(13)的输出端与主动齿轮(14)的一端连接。

2.根据权利要求1所述的一种样本切片装置,其特征在于:所述限位结构包括限位槽(16)和限位块(17),所述限位槽(16)设置于固定腔(9)内部的上方和下方,所述限位槽(16)的内部设置有限位块(17),所述限位块(17)的一端与螺纹杆(11)的一端连接,所述转套(10)的外侧壁设置有向内凹陷的槽体,所述固定腔(9)的一端设置有与槽体相互适配的限位环。

3.根据权利要求2所述的一种样本切片装置,其特征在于:所述限位槽(16)的横截面大于限位块(17)的横截面,所述限位槽(16)与限位块(17)之间构成滑动结构。

4.根据权利要求1所述的一种样本切片装置,其特征在于:所述固定机构包括压料板(19)、腔体(20)、伸缩弹簧(21)、活动杆(22)和导向组件,所述压料板(19)安装于定位板(18)的下方,所述定位板(18)的内侧安装有腔体(20),所述腔体(20)内部的顶端安装有伸缩弹簧(21),所述伸缩弹簧(21)的一端安装有活动杆(22),所述活动杆(22)的底端延伸至腔体(20)的外部,所述活动杆(22)的底端与压料板(19)的顶端连接。

5.根据权利要求4所述的一种样本切片装置,其特征在于:所述导向组件包括导向杆(23)和导向套(24),所述导向杆(23)安装于腔体(20)内部的两侧,所述导向杆(23)的外侧壁设置有导向套(24),所述导向套(24)的一端与活动杆(22)的一端连接。

6.根据权利要求5所述的一种样本切片装置,其特征在于:所述腔体(20)在定位板(18)的内侧设置有多个,多个所述腔体(20)之间在定位板(18)的内侧呈等间距分布。