欢迎来到知嘟嘟! 联系电话:13336804447 卖家免费入驻,海量在线求购! 卖家免费入驻,海量在线求购!
知嘟嘟
我要发布
联系电话:13336804447
知嘟嘟经纪人
收藏
专利号: 2023229310636
专利类型:实用新型
专利状态:未下证
专利领域: 暂无
更新日期:2024-07-25
缴费截止日期: 暂无
价格&联系人
年费信息
委托购买

摘要:

权利要求书:

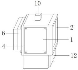
1.一种新风机的新风过滤结构,包括壳体(1),其特征在于,所述壳体(1)的一侧设置有进风口(2),所述进风口(2)处设置有百叶扇(3),所述壳体(1)的另一侧设置有连接板(4),所述连接板(4)的一侧设置有过滤网(5),所述连接板(4)的另一侧设置有安装架(6),所述安装架(6)的内侧设置有风机(7),所述风机(7)的一侧设置有防尘网(8),所述壳体(1)内设置有滤网清洁机构(9),所述壳体(1)的顶部设置有电动推杆(10),所述电动推杆(10)的输出端与滤网清洁机构(9)连接,所述壳体(1)的底部设置有接料槽(11),所述接料槽(11)的前侧铰接有箱门(12),所述箱门(12)的一端设置有限位螺栓(13)。

2.根据权利要求1所述的一种新风机的新风过滤结构,其特征在于,所述连接板(4)和安装架(6)对应的上设置有对应的通孔,所述连接板(4)和安装架(6)通过螺栓穿过通孔连接在壳体(1)上。

3.根据权利要求2所述的一种新风机的新风过滤结构,其特征在于,所述壳体(1)上设置有与过滤网(5)匹配的凹槽,所述过滤网(5)嵌设在凹槽内,且所述过滤网(5)与壳体(1)的内壁平齐。

4.根据权利要求3所述的一种新风机的新风过滤结构,其特征在于,所述滤网清洁机构(9)包括上挡板(14)、下挡板(15)、连接杆(16)、清洁毛刷(17)和导料板(18),所述上挡板(14)和下挡板(15)呈对称设置,所述连接杆(16)设置在上挡板(14)与下挡板(15)之间,所述清洁毛刷(17)设置在连接杆(16)的一侧,所述导料板(18)设置在下挡板(15)的顶部。

5.根据权利要求4所述的一种新风机的新风过滤结构,其特征在于,所述上挡板(14)和下挡板(15)设置在过滤网(5)的上下两侧,且所述上挡板(14)和下挡板(15)与壳体(1)的侧壁贴合,所述清洁毛刷(17)贴附在过滤网(5)上。

6.根据权利要求5所述的一种新风机的新风过滤结构,其特征在于,所述壳体(1)上与箱门(12)限位螺栓(13)对应的位置上设置有螺栓孔,所述箱门(12)通过限位螺栓(13)连接在螺栓孔内。