欢迎来到知嘟嘟! 联系电话:13336804447 卖家免费入驻,海量在线求购! 卖家免费入驻,海量在线求购!
知嘟嘟
我要发布
联系电话:13336804447
知嘟嘟经纪人
收藏
专利号: 2023227800448
申请人: 金伟
专利类型:实用新型
专利状态:已下证
专利领域: 塑料的加工;一般处于塑性状态物质的加工
更新日期:2024-12-12
缴费截止日期: 暂无
价格&联系人
年费信息
委托购买

摘要:

权利要求书:

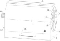
1.一种色母粒干燥装置,包括干燥桶(1);其特征在于:所述干燥桶(1)侧壁固接有电机(11);所述电机(11)输出端固接有第一支撑轴(12);所述第一支撑轴(12)贯穿干燥桶(1)且设置在干燥桶(1)中部;所述第一支撑轴(12)中部固接有搅拌叶(13);所述搅拌叶(13)中部固接有分料杆(14);所述分料杆(14)为多组且均匀分布在搅拌叶(13)中部;所述第一支撑轴(12)中部固接有阻挡板(15);所述阻挡板(15)设置在第一支撑轴(12)远离电机(11)一端;所述阻挡板(15)中部开设有通风孔(16);所述通风孔(16)为多组且均匀分布;所述通风孔(16)孔径小于色母粒的直径;所述第一支撑轴(12)端部固接有扇叶(17);所述扇叶(17)为多组且环形分布;所述干燥桶(1)靠近扇叶(17)一侧侧壁开设有通气槽(18)。

2.根据权利要求1所述的一种色母粒干燥装置,其特征在于:所述搅拌叶(13)侧壁固接有清理刮板(2);所述清理刮板(2)设置在搅拌叶(13)靠近第一支撑轴(12)转动方向一侧。

3.根据权利要求2所述的一种色母粒干燥装置,其特征在于:所述干燥桶(1)底部开设有滑动槽(3);所述滑动槽(3)中部滑动连接有底板(31);所述底板(31)侧壁固接有拉柄(32)。

4.根据权利要求3所述的一种色母粒干燥装置,其特征在于:所述干燥桶(1)底部固接有支撑架(4);所述支撑架(4)中部滑动连接有收集箱(41);所述收集箱(41)侧壁固接有把手(42)。

5.根据权利要求4所述的一种色母粒干燥装置,其特征在于:所述支撑架(4)内侧壁开设有滚动槽(5);所述滚动槽(5)为多组且均匀分布在支撑架(4)内侧壁底部;所述滚动槽(5)中部固接有第二支撑轴(51);所述第二支撑轴(51)中部转动连接有滚轮(52)。

6.根据权利要求5所述的一种色母粒干燥装置,其特征在于:所述干燥桶(1)顶部固接有弹性挡板(6);所述弹性挡板(6)为一对且对称设置。