欢迎来到知嘟嘟! 联系电话:13336804447 卖家免费入驻,海量在线求购! 卖家免费入驻,海量在线求购!
知嘟嘟
我要发布
联系电话:13336804447
知嘟嘟经纪人
收藏
专利号: 2023227026086
专利类型:实用新型
专利状态:未下证
专利领域: 暂无
更新日期:2024-04-08
缴费截止日期: 暂无
价格&联系人
年费信息
委托购买

摘要:

权利要求书:

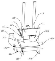
1.一种风力发电轴检测装置,包括安装板(101),其特征在于:所述安装板(101)上端固定设有升降电机(111),所述升降电机(111)动力连接有升降螺纹轴(112),所述升降螺纹轴(112)螺纹连接有升降螺纹板(117),所述安装板(101)上端面固定连接有限位杆(114),所述升降螺纹板(117)滑动连接于所述限位杆(114),所述升降螺纹板(117)前端固定设有伸缩器(119);

所述伸缩器(119)动力连接有伸缩杆(121),所述伸缩杆(121)后端固定连接有检测器(122),所述检测器(122)后端固定连接有检测头(123),所述检测头(123)受力会进入所述检测器(122)内,此时所述检测器(122)能够检测所述检测头(123)收缩的距离。

2.根据权利要求1所述的一种风力发电轴检测装置,其特征在于:所述限位杆(114)上端设有上侧开口的延伸腔(115),所述升降螺纹轴(112)上端设有上侧开口的延伸槽(113)。

3.根据权利要求2所述的一种风力发电轴检测装置,其特征在于:所述限位杆(114)固定连接有转动连接所述升降螺纹轴(112)的保护板(116),所述保护板(116)位于所述升降螺纹板(117)下侧。

4.根据权利要求3所述的一种风力发电轴检测装置,其特征在于:所述安装板(101)下端面固定连接有连接板(102),所述连接板(102)后端固定连接有第一固定块(103)。

5.根据权利要求4所述的一种风力发电轴检测装置,其特征在于:所述连接板(102)右端固定设有固定电机(104),所述固定电机(104)动力连接有固定螺纹轴(105),所述固定螺纹轴(105)螺纹连接有固定螺纹板(108),所述连接板(102)左端面固定连接有滑动连接所述固定螺纹板(108)的导向杆(107)。

6.根据权利要求5所述的一种风力发电轴检测装置,其特征在于:所述固定螺纹轴(105)与所述导向杆(107)左端面都固定连接有保护盘(106)。

7.根据权利要求6所述的一种风力发电轴检测装置,其特征在于:所述固定螺纹板(108)固定连接有第二固定块(109)。