欢迎来到知嘟嘟! 联系电话:13336804447 卖家免费入驻,海量在线求购! 卖家免费入驻,海量在线求购!
知嘟嘟
我要发布
联系电话:13336804447
知嘟嘟经纪人
收藏
专利号: 2023226666511
专利类型:实用新型
专利状态:未下证
专利领域: 暂无
更新日期:2024-05-10
缴费截止日期: 暂无
价格&联系人
年费信息
委托购买

摘要:

权利要求书:

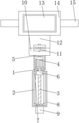
1.一种液位检测传感器,包括支撑框一(1),其特征在于:所述支撑框一(1)的左右两侧均开设有穿孔(2),所述支撑框一(1)内腔的底部通过轴承活动连接有螺杆一(3),所述螺杆一(3)的顶部贯穿支撑框一(1)并固定连接有电机(4),所述电机(4)的底部固定连接有支撑框二(5),所述螺杆一(3)的表面螺纹套设有滑块(6),所述滑块(6)的左右两侧均固定连接有移动块(7),所述移动块(7)的外侧贯穿穿孔(2)并固定连接有移动框(8),所述移动框(8)的底部固定连接有探头(9),所述支撑框二(5)的顶部固定连接有连接块一(10),所述连接块一(10)的正表面与背表面均设置有拆卸装置(11),所述连接块一(10)的顶部插接有连接装置(12),所述连接装置(12)的顶部固定连接有电子控制仓(14),所述电子控制仓(14)的正表面镶嵌有显示屏(13),所述电子控制仓(14)的左右两侧均固定连接有手把(15)。

2.根据权利要求1所述的一种液位检测传感器,其特征在于:所述螺杆一(3)的顶部与支撑框二(5)贯穿活动连接,所述拆卸装置(11)的顶部与连接装置(12)相接触,所述支撑框二(5)的底部与支撑框一(1)固定连接。

3.根据权利要求1所述的一种液位检测传感器,其特征在于:所述拆卸装置(11)包括底板一(111),所述底板一(111)的底部固定连接有放置框(112),所述放置框(112)的内腔活动连接有推板(113),所述推板(113)的内侧固定连接有定位块(116),所述推板(113)的外侧固定连接有伸缩杆(114),所述伸缩杆(114)的表面套设有弹簧(115),所述伸缩杆(114)的外侧与放置框(112)固定连接,所述底板一(111)底部的中心处开设有插孔(117)。

4.根据权利要求1所述的一种液位检测传感器,其特征在于:所述连接装置(12)包括连接块二(121),所述连接块二(121)的正表面与背表面均固定连接有底板二(123),所述底板二(123)的顶部贯穿活动连接有定位杆(124),所述定位杆(124)前侧的底部开设有定位孔(122)。

5.根据权利要求1所述的一种液位检测传感器,其特征在于:所述移动块(7)的表面与穿孔(2)活动连接,所述移动框(8)的内腔与支撑框一(1)活动连接。

6.根据权利要求3所述的一种液位检测传感器,其特征在于:所述放置框(112)的底部与推板(113)活动连接,所述伸缩杆(114)的内侧与放置框(112)活动连接。

我要求购
我不想找了,帮我找吧
您有专利需要变现?
我要出售
智能匹配需求,快速出售