欢迎来到知嘟嘟! 联系电话:13336804447 卖家免费入驻,海量在线求购! 卖家免费入驻,海量在线求购!
知嘟嘟
我要发布
联系电话:13336804447
知嘟嘟经纪人
收藏
专利号: 2023226042999
申请人: 湖北长湖洗涤科技股份有限公司
专利类型:实用新型
专利状态:已下证
专利领域: 输送;包装;贮存;搬运薄的或细丝状材料
更新日期:2024-08-14
缴费截止日期: 暂无
价格&联系人
年费信息
委托购买

摘要:

权利要求书:

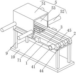
1.一种毛巾折叠机,其特征在于:包括安装框(1)和第一输送组件(4);

安装框(1):上侧的中部固定有两个相对应的安装条(2),所述安装框(1)上侧的前后两端固定有两个相对应的支撑条(3),两个安装条(2)上侧的左端开设有放置槽,两个安装条(2)相对应内侧面的左端安装有第二输送组件(6),两个支撑条(3)上侧的左端安装有折叠组件(5),所述支撑条(3)的侧面安装有吹气组件(7),两个安装条(2)的左端安装有吸附组件(8);

第一输送组件(4):包含第一电机(41)、转轴(42)、导向轮(43)、第一输送带(44)和第二输送带(45),前侧的支撑条(3)前侧的右端安装有第一电机(41),所述安装条(2)前侧的右端开设有两个相对应的通孔,四个通孔的内部转动连接有两个相对应的转轴(42),两个转轴(42)转动连接在两个支撑条(3)相对应的内侧面上,所述第一电机(41)的输出轴固定在右侧的转轴(42)的前端,两个转轴(42)的中部套接有第二输送带(45),所述支撑条(3)侧面的左端转动连接有导向轮(43),两个导向轮(43)通过两个第一输送带(44)与右侧的转轴(42)相连,所述第一电机(41)的输入端电连接外部控制开关组的输出端。

2.根据权利要求1所述的一种毛巾折叠机,其特征在于:所述折叠组件(5)包含固定框架(51)、电动伸缩杆(52)和顶板(53),两个支撑条(3)上侧的左端固定有固定框架(51),所述固定框架(51)的前后两侧安装有四个相对应的电动伸缩杆(52),所述固定框架(51)的内部设置有两个相对应的顶板(53),四个电动伸缩杆(52)的伸缩臂分别固定在两个顶板(53)的侧面上,所述电动伸缩杆(52)的输入端电连接外部控制开关组的输出端。

3.根据权利要求1所述的一种毛巾折叠机,其特征在于:所述第二输送组件(6)包含安装框架(61)、第二电机(62)、连接轴(63)和第三输送带(64),两个安装条(2)的左侧固定有安装框架(61),所述安装框架(61)的前侧安装有第二电机(62),所述连接轴(63)设置有两个,左侧的连接轴(63)转动连接在安装框架(61)的内部,所述第二电机(62)的输出轴固定在左侧的连接轴(63)的前端,右侧的连接轴(63)转动连接在两个安装条(2)相对应内侧面的中部,两个连接轴(63)通过第三输送带(64)相连,所述第二电机(62)的输入端电连接外部控制开关组的输出端。

4.根据权利要求1所述的一种毛巾折叠机,其特征在于:所述吹气组件(7)包含第一气泵(71)、连接管(72)和出气箱(73),所述支撑条(3)内部的左端开设有条形口,所述条形口的内部固定有出气箱(73),所述出气箱(73)右侧设置的进气口的内部固定有连接管(72),所述支撑条(3)的侧面安装有第一气泵(71),所述连接管(72)的右端固定在第一气泵(71)的出水口的内部,所述第一气泵(71)的输入端电连接外部控制开关组的输出端。

5.根据权利要求1所述的一种毛巾折叠机,其特征在于:所述吸附组件(8)包含吸盘(81)、吸气管(82)、连接箱(83)、第二气泵(84)和抽气管(85),所述安装条(2)上侧的左端开设有均匀分布的固定孔,所述固定孔的内部固定有吸盘(81),所述吸盘(81)内部的下端固定有吸气管(82),所有的吸气管(82)的下端固定有连接箱(83),所有的吸气管(82)均与连接箱(83)的内腔相通,两个安装条(2)的下侧安装有第二气泵(84),所述第二气泵(84)的进气口的内部固定有抽气管(85),所述抽气管(85)的左端固定在连接箱(83)右侧设置的出气孔的内部,所述第二气泵(84)的输入端电连接外部控制开关组的输出端。

6.根据权利要求1所述的一种毛巾折叠机,其特征在于:所述安装框(1)的下侧固定有四个相对应的支腿(9),四个支腿(9)的下侧固定有底板(10)。

我要求购
我不想找了,帮我找吧
您有专利需要变现?
我要出售
智能匹配需求,快速出售