欢迎来到知嘟嘟! 联系电话:13336804447 卖家免费入驻,海量在线求购! 卖家免费入驻,海量在线求购!
知嘟嘟
我要发布
联系电话:13336804447
知嘟嘟经纪人
收藏
专利号: 2023225960391
专利类型:实用新型
专利状态:未下证
专利领域: 暂无
更新日期:2024-05-15
缴费截止日期: 暂无
价格&联系人
年费信息
委托购买

摘要:

权利要求书:

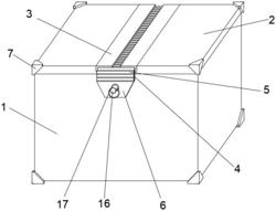
1.一种具有内部多层结构的瓦楞纸箱,包括外箱体(1),其特征在于:所述外箱体(1)上端面铰接设置有两个箱盖(2),两个所述箱盖(2)相对一侧均嵌入设置有固定板(3),两个所述固定板(3)相对一侧均开设有卡槽(8),所述外箱体(1)后端面固定设置有二号连接板(20),所述二号连接板(20)上端面固定设置有棉布(4),所述棉布(4)远离外箱体(1)的一侧固定设置有多个塑料条(5),所述棉布(4)的一端固定设置有一号连接板(6),所述一号连接板(6)前端面嵌入设置有限位套筒(18),所述限位套筒(18)内部转动设置有螺杆(16),所述外箱体(1)前端面中间靠上处嵌入设置有螺纹套筒(19);

所述外箱体(1)一侧内壁固定设置有内箱体(9),所述内箱体(9)两侧内壁分别嵌入设置有一号轴承(13)和二号轴承(15),所述一号轴承(13)一侧贯穿至外箱体(1)一侧,所述一号轴承(13)和二号轴承(15)内环内壁固定设置有转杆(12),所述转杆(12)靠近一号轴承(13)的一侧固定设置有转块(14),所述转杆(12)周身固定套设有转框(10),所述转框(10)周身开设有多个放置槽(11),所述转框(10)设置在内箱体(9)内部。

2.根据权利要求1所述的一种具有内部多层结构的瓦楞纸箱,其特征在于:所述外箱体(1)下侧四角处和两个箱盖(2)相反一侧的两角处均固定设置有保护套(7)。

3.根据权利要求1所述的一种具有内部多层结构的瓦楞纸箱,其特征在于:所述螺杆(16)两侧卡接设置有转环(17)。

4.根据权利要求1所述的一种具有内部多层结构的瓦楞纸箱,其特征在于:所述外箱体(1)包括基层(101),所述基层(101)上端面固定设置有防水层(102),所述防水层(102)上端面固定设置有耐磨层(103)。

5.根据权利要求4所述的一种具有内部多层结构的瓦楞纸箱,其特征在于:所述防水层(102)设置为硅涂层。

6.根据权利要求4所述的一种具有内部多层结构的瓦楞纸箱,其特征在于:所述耐磨层(103)设置为热固性树脂涂层。

7.根据权利要求1所述的一种具有内部多层结构的瓦楞纸箱,其特征在于:所述内箱体(9)和转框(10)所用材料均与外箱体(1)相同。