欢迎来到知嘟嘟! 联系电话:13336804447 卖家免费入驻,海量在线求购! 卖家免费入驻,海量在线求购!
知嘟嘟
我要发布
联系电话:13336804447
知嘟嘟经纪人
收藏
专利号: 2023222542492
专利类型:实用新型
专利状态:未下证
专利领域: 暂无
更新日期:2024-05-10
缴费截止日期: 暂无
价格&联系人
年费信息
委托购买

摘要:

权利要求书:

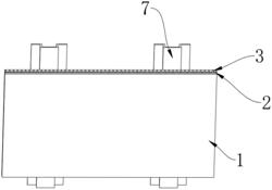
1.一种便于拆卸的建筑幕墙,包括幕墙(1),其特征在于:所述幕墙(1)的一侧面固定连接有保温层(2),所述保温层(2)的一侧面固定连接有隔音棉(3),所述隔音棉(3)的一侧面固定连接有第一固定架(5),所述第一固定架(5)的一侧面固定连接有第二固定架(7),所述第一固定架(5)的一侧面固定连接有固定块(8),所述固定块(8)的一侧面固定连接有第三螺母(9),所述第三螺母(9)的内壁螺纹连接有螺纹杆(10),所述螺纹杆(10)的一端固定连接有第四螺母(11)。

2.根据权利要求1所述的一种便于拆卸的建筑幕墙,其特征在于:所述保温层(2)为聚苯乙烯保温板材料,位于幕墙(1)的一侧面。

3.根据权利要求1所述的一种便于拆卸的建筑幕墙,其特征在于:所述保温层(2)的另一侧面与隔音棉(3)的一侧面紧密贴合,所述隔音棉(3)的内部螺纹连接有第一螺母(4)。

4.根据权利要求1所述的一种便于拆卸的建筑幕墙,其特征在于:所述第一固定架(5)的内部设置有第二螺母(6),所述第二螺母(6)设置有多个,位于第一固定架(5)的两侧。

5.根据权利要求1所述的一种便于拆卸的建筑幕墙,其特征在于:所述固定块(8)、第三螺母(9)、螺纹杆(10)、第四螺母(11)位于第二固定架(7)的中部,设置有多个,且以第二固定架(7)的水平中线为对称轴对称设置。

6.根据权利要求1所述的一种便于拆卸的建筑幕墙,其特征在于:所述幕墙(1)通过第一固定架(5)、固定块(8)、第三螺母(9)、螺纹杆(10)、第四螺母(11)与第二固定架(7)构成可拆卸结构,且第一固定架(5)、第二固定架(7)设置有两个,位于幕墙(1)的一侧。