欢迎来到知嘟嘟! 联系电话:13336804447 卖家免费入驻,海量在线求购! 卖家免费入驻,海量在线求购!
知嘟嘟
我要发布
联系电话:13336804447
知嘟嘟经纪人
收藏
专利号: 2023222463240
专利类型:实用新型
专利状态:未下证
专利领域: 暂无
更新日期:2024-04-08
缴费截止日期: 暂无
价格&联系人
年费信息
委托购买

摘要:

权利要求书:

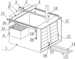
1.一种园林绿化工程施工用苗木转运站,包括U型框(1),其特征在于:所述U型框(1)顶部的左侧固定安装有承重板(2),所述承重板(2)的顶部固定安装有往复电机(3),所述往复电机(3)的输出轴通过联轴器固定安装有螺纹杆(4),所述螺纹杆(4)的表面螺纹连接有螺纹套(5),所述螺纹套(5)的底部固定安装有存水框(6),所述存水框(6)的底部连通有喷头(7),且喷头(7)设置有若干个;

所述U型框(1)的表面固定安装有水箱(8),所述水箱(8)内腔的底部固定安装有水泵(9),所述水泵(9)的出口端连通有软管(10),所述软管(10)的一端连通于存水框(6)的表面。

2.根据权利要求1所述的一种园林绿化工程施工用苗木转运站,其特征在于:所述U型框(1)的前部与后部均固定安装有滑槽板(11),所述滑槽板(11)的内部滑动连接有滑块(12),所述滑块(12)的顶部固定连接于存水框(6)的底部。

3.根据权利要求1所述的一种园林绿化工程施工用苗木转运站,其特征在于:所述U型框(1)内腔底部的右侧通过开设开口固定安装有延伸板(13),所述延伸板(13)的顶部开设有滑槽(14),所述滑槽(14)的内部滑动连接有滑板(15),所述滑板(15)的顶部通过转动件转动连接有斜板(16)。

4.根据权利要求3所述的一种园林绿化工程施工用苗木转运站,其特征在于:所述U型框(1)内腔前部与后部之间的右侧固定安装有支撑板(17),所述支撑板(17)的顶部通过开设开口固定安装有液压杆(18),所述液压杆(18)的底端通过转动件转动连接于斜板(16)的顶部,所述承重板(2)的后部通过支架固定安装有与液压杆(18)相配合使用的触发按钮(22)。

5.根据权利要求4所述的一种园林绿化工程施工用苗木转运站,其特征在于:所述支撑板(17)的前部与后部均固定安装有滑杆(19),所述滑杆(19)的一端贯穿U型框(1)并延伸至U型框(1)的外部。

6.根据权利要求5所述的一种园林绿化工程施工用苗木转运站,其特征在于:所述U型框(1)的前部与后部均开设有与滑杆(19)相配合使用的活动口(20)。

7.根据权利要求3所述的一种园林绿化工程施工用苗木转运站,其特征在于:所述斜板(16)右侧的前部与后部均固定安装有台阶(21)。

8.根据权利要求1所述的一种园林绿化工程施工用苗木转运站,其特征在于:所述水箱(8)的顶部固定安装有过滤板(23)。