欢迎来到知嘟嘟! 联系电话:13336804447 卖家免费入驻,海量在线求购! 卖家免费入驻,海量在线求购!
知嘟嘟
我要发布
联系电话:13336804447
知嘟嘟经纪人
收藏
专利号: 202322195030X
申请人: 博创金龙五金(温州)有限公司
专利类型:实用新型
专利状态:已下证
专利领域: 锁;钥匙;门窗零件;保险箱
更新日期:2024-08-20
缴费截止日期: 暂无
价格&联系人
年费信息
委托购买

摘要:

权利要求书:

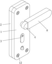
1.一种新型发热五金锁手柄,其特征在于,包括前挡盖(1),所述前挡盖(1)的一侧设置有后挡盖(2),所述前挡盖(1)的一侧设置有钥匙孔(3),所述前挡盖(1)的另一侧固定连接有手柄本体(4),所述手柄本体(4)的内部分别设置有加热丝(5)和温控继电器(6),所述手柄本体(4)的内壁粘接有绝缘层(7),所述手柄本体(4)的外侧设置有保温套(8)。

2.根据权利要求1所述的新型发热五金锁手柄,其特征在于,所述前挡盖(1)的内壁开设有安装孔(9),所述安装孔(9)的内壁开设有螺纹孔(10),所述安装孔(9)的内壁设置有垫片(11),所述螺纹孔(10)的内壁螺纹连接有固定螺丝(12)。

3.根据权利要求2所述的新型发热五金锁手柄,其特征在于,所述后挡盖(2)的一侧固定连接有与固定螺丝(12)配合使用的螺纹筒(13),所述螺纹筒(13)的数量设置为四个。