欢迎来到知嘟嘟! 联系电话:13336804447 卖家免费入驻,海量在线求购! 卖家免费入驻,海量在线求购!
知嘟嘟
我要发布
联系电话:13336804447
知嘟嘟经纪人
收藏
专利号: 2023220924666
专利类型:实用新型
专利状态:未下证
专利领域: 暂无
更新日期:2024-01-08
缴费截止日期: 暂无
价格&联系人
年费信息
委托购买

摘要:

权利要求书:

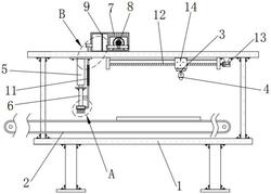
1.一种镀膜玻璃的膜面检测装置,其特征在于,包括:

安装架;

输送带,所述输送带设置在所述安装架上;

安装板,所述安装板设置在所述安装架的下方;

多个照明灯,多个所述照明灯均设置在所述安装板上;

伸缩杆,所述伸缩杆固定安装在所述安装架上;

清理刷,所述清理刷设置在所述伸缩杆的输出轴上;

收集机构,所述收集机构设置在所述安装架上,所述收集机构用于对清理刷清理下来的灰尘进行收集处理。

2.根据权利要求1所述的镀膜玻璃的膜面检测装置,其特征在于,所述收集机构包括收集箱、负压风机、隔网、横管和波纹管,所述收集箱设置在所述安装架的顶部,所述负压风机设置在所述收集箱上,所述收集箱上设置有收纳腔,所述隔网设置在所述收纳腔内,所述横管设置在所述收集箱上,所述波纹管设置在所述清理刷的一侧,且所述波纹管的两端分别和所述清理刷和所述横管相连通。

3.根据权利要求2所述的镀膜玻璃的膜面检测装置,其特征在于,所述清理刷的底部设置有多个刷毛,所述清理刷上开设有连接腔,所述连接腔和所述波纹管相连通,且所述清理刷的底部开设有多个通孔,多个所述通孔均和所述连接腔相连通。

4.根据权利要求2所述的镀膜玻璃的膜面检测装置,其特征在于,所述收集箱的一侧设置有密封门,所述密封门位于所述收纳腔的一侧。

5.根据权利要求1所述的镀膜玻璃的膜面检测装置,其特征在于,所述安装架上设置有带动照明灯移动的移动机构,所述移动机构包括丝杆、电机和安装块,所述丝杆转动安装在所述安装架的下方,所述电机设置在所述安装架的下方,且所述电机的输出轴和所述丝杆的一端固定连接,所述安装块螺纹套设在所述丝杆上,且所述安装块和所述安装板固定连接。

6.根据权利要求5所述的镀膜玻璃的膜面检测装置,其特征在于,所述安装架上固定安装有限位杆,所述限位杆和所述安装块滑动连接,安装架上开设有导槽,所述安装板的顶部固定安装有导块,所述导块和所述导槽滑动连接。

7.根据权利要求1所述的镀膜玻璃的膜面检测装置,其特征在于,所述安装架上设置有控制输送带、照明灯、伸缩杆、负压风机和电机的控制器。