欢迎来到知嘟嘟! 联系电话:13336804447 卖家免费入驻,海量在线求购! 卖家免费入驻,海量在线求购!
知嘟嘟
我要发布
联系电话:13336804447
知嘟嘟经纪人
收藏
专利号: 2023220721873
申请人: 嵊州市渤海汇服饰有限公司
专利类型:实用新型
专利状态:已下证
专利领域: 测量;测试
更新日期:2024-08-12
缴费截止日期: 暂无
价格&联系人
年费信息
委托购买

摘要:

权利要求书:

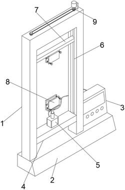
1.一种布料生产用检测拉伸装置,包括装置机架(1)和底座(2),所述装置机架(1)呈凹字型且底端安装有底座(2),且底座(2)上对应装置机架(1)的一侧固设有用于操作布料拉伸检测的操控面板(3),所述装置机架(1)中靠近底端处安装有横基板(4),且横基板(4)上中心处固设有包含拉力传感器的电动拉伸杆(5),电动拉伸杆(5)与操控面板(3)电性连接,用于拉伸布料检测,其特征在于:所述装置机架(1)的两侧内壁开设有限位竖槽(6),且装置机架(1)通过两侧限位竖槽(6)滑动卡接有位移横板(7),所述装置机架(1)的顶部设置有用于驱使位移横板(7)上下移动的间隔调节装置(9),所述位移横板(7)底部中心处与电动拉伸杆(5)中活塞杆顶端上设置有两组上下对称的布料夹持组件(8),用于夹持布料的两端,所述布料夹持组件(8)中包括悬空的布料折叠杆(19),用于将布料折叠后固定夹持。

2.根据权利要求1所述的一种布料生产用检测拉伸装置,其特征在于:所述装置机架(1)中两侧限位竖槽(6)的底端内壁与横基板(4)的顶部外壁齐平,且限位竖槽(6)向上开设至装置机架(1)顶部水平部分的两侧。

3.根据权利要求1所述的一种布料生产用检测拉伸装置,其特征在于:所述间隔调节装置(9)包括螺纹丝杆(10)、主动电机(11)、皮带轮(12)和皮带(13),所述装置机架(1)中两侧限位竖槽(6)的底部内壁均转动安装有螺纹丝杆(10),且螺纹丝杆(10)顶端贯穿延伸出装置机架(1)的顶部外壁,所述位移横板(7)滑动卡接在两侧限位竖槽(6)中两端均与螺纹丝杆(10)螺纹套接,两组所述螺纹丝杆(10)贯穿延伸出装置机架(1)顶部的外壁上均固定套接有皮带轮(12),且两组皮带轮(12)之间套装有同一组皮带(13),所述装置机架(1)的顶部外壁通过电机支架固定安装有位于螺纹丝杆(10)顶端上方的主动电机(11),且主动电机(11)竖直向下的输出轴与螺纹丝杆(10)的顶端固连。

4.根据权利要求1所述的一种布料生产用检测拉伸装置,其特征在于:所述布料夹持组件(8)还包括布料夹持板一(14)、布料夹持板二(15)和驱板丝杆(16),所述布料夹持板一(14)一体化的竖板和横板,且布料夹持板一(14)通过横板固定安装在位移横板(7)与电动拉伸杆(5)上,所述布料夹持板一(14)中竖板上对应位于对角线上两个拐角处均转动安装有驱板丝杆(16),且布料夹持板一(14)通过两组驱板丝杆(16)螺纹连接有布料夹持板二(15),所述布料夹持板二(15)与布料夹持板一(14)中竖板平行对齐,所述布料夹持板一(14)和布料夹持板二(15)相互靠近侧壁中间处分别开设有半圆空腔一(17)和半圆空腔二(18),所述布料夹持板一(14)上半圆空腔一(17)与布料夹持板二(15)上半圆空腔二(18)相互对称且水平对齐,所述半圆空腔一(17)和半圆空腔二(18)的两端均为半圆形开口状,所述半圆空腔一(17)中通过连接件固定安装有水平填充在半圆空腔一(17)中的布料折叠杆(19),且布料折叠杆(19)的端面圆心处于半圆空腔一(17)的端口圆心处为相同点,即布料折叠杆(19)有一半部分凸出半圆空腔一(17)且可填充在半圆空腔二(18)中。

5.根据权利要求4所述的一种布料生产用检测拉伸装置,其特征在于:所述半圆空腔一(17)和半圆空腔二(18)的端口直径大于布料折叠杆(19)的端面直径。

6.根据权利要求4所述的一种布料生产用检测拉伸装置,其特征在于:所述布料夹持板一(14)靠近布料夹持板二(15)的侧壁上对应半圆空腔一(17)背离横板的一侧开设有多组半球夹布槽(20),所述布料夹持板二(15)对应开设半圆空腔二(18)的侧壁上设置有可卡接在多组半球夹布槽(20)中的多组半球夹布凸起(21),所述布料夹持板一(14)和布料夹持板二(15)上设置的多组半球夹布槽(20)和半球夹布凸起(21)一一对应且呈一字等距排列。