欢迎来到知嘟嘟! 联系电话:13336804447 卖家免费入驻,海量在线求购! 卖家免费入驻,海量在线求购!
知嘟嘟
我要发布
联系电话:13336804447
知嘟嘟经纪人
收藏
专利号: 2023217857399
申请人: 天津斌火星光科技有限公司
专利类型:实用新型
专利状态:已下证
专利领域: 手动工具;轻便机动工具;手动器械的手柄;车间设备;机械手
更新日期:2024-07-31
缴费截止日期: 暂无
价格&联系人
年费信息
委托购买

摘要:

权利要求书:

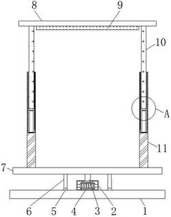
1.一种计算机维修用旋转装置,包括底座(1),其特征在于:所述底座(1)的顶部固定连接有电机盒(2),所述电机盒(2)的内底壁固定连接有电机(4),所述电机(4)的输出轴通过联轴器固定连接有转轴(3),所述转轴(3)的一端固定连接有旋转座(7);

所述旋转座(7)的顶部固定连接有支柱(11),所述支柱(11)的一端开设有通孔(15),所述通孔(15)的内底壁固定连接有电动推杆(12),所述电动推杆(12)的一端固定连接有活动杆(10),所述活动杆(10)的一端固定连接有限位板(8)。

2.根据权利要求1所述的一种计算机维修用旋转装置,其特征在于:所述通孔(15)的内壁开设有滑槽(13),且滑槽(13)的内壁活动连接有滑块(14),且滑块(14)的一侧与活动杆(10)的外壁固定连接。

3.根据权利要求1所述的一种计算机维修用旋转装置,其特征在于:所述底座(1)的顶部开设有滑槽(13),且滑槽(13)的内壁活动连接有滑轮(5),且滑轮(5)的外壁固定连接有支撑杆(6),且支撑杆(6)的一端与旋转座(7)的底部固定连接。

4.根据权利要求1所述的一种计算机维修用旋转装置,其特征在于:所述限位板(8)的顶部固定连接有防护垫(9),且防护垫(9)为橡胶防护垫。

5.根据权利要求1所述的一种计算机维修用旋转装置,其特征在于:所述通孔(15)的形状大小与活动杆(10)的形状大小均相互匹配,且活动杆(10)的一端通过通孔(15)延伸至支柱(11)的顶部。

6.根据权利要求1所述的一种计算机维修用旋转装置,其特征在于:所述电机盒(2)的内侧壁固定连接有支撑块,且支撑块的一侧与电机(4)的外壁固定连接。

7.根据权利要求3所述的一种计算机维修用旋转装置,其特征在于:所述滑轮(5)的数量为两个,且两个滑轮(5)以底座(1)的中垂线为对称轴对称设置。