欢迎来到知嘟嘟! 联系电话:13336804447 卖家免费入驻,海量在线求购! 卖家免费入驻,海量在线求购!
知嘟嘟
我要发布
联系电话:13336804447
知嘟嘟经纪人
收藏
专利号: 2023216951162
专利类型:实用新型
专利状态:未下证
专利领域: 暂无
更新日期:2023-11-06
缴费截止日期: 暂无
价格&联系人
年费信息
委托购买

摘要:

权利要求书:

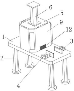
1.一种安全性高的不锈钢切割机,包括支撑板(1),其特征在于:所述支撑板(1)的下表面固定安装有支撑脚(2),所述支撑板(1)的上表面固定安装有电动伸缩杆(3),所述电动伸缩杆(3)的输出端固定安装有夹板(4),所述支撑板(1)的上表面固定安装有安装板(5),所述安装板(5)的内部固定安装有液压杆(6),所述液压杆(6)的输出端固定安装有切割机(7),所述安装板(5)的侧面固定安装有限位块(8),所述限位块(8)的表面滑动连接有挡罩(9),所述液压杆(6)的表面固定安装有连接板(10),所述连接板(10)的下表面固定安装有弹簧(11),所述挡罩(9)的侧面固定安装有防护刷(12)。

2.根据权利要求1所述的安全性高的不锈钢切割机,其特征在于:所述夹板(4)与支撑板(1)之间滑动连接,所述挡罩(9)与安装板(5)之间滑动连接。

3.根据权利要求1所述的安全性高的不锈钢切割机,其特征在于:所述连接板(10)与挡罩(9)之间滑动连接,所述弹簧(11)与挡罩(9)之间固定连接。

4.根据权利要求1所述的安全性高的不锈钢切割机,其特征在于:所述限位块(8)的形状为T型,所述安装板(5)的形状为L型。

5.根据权利要求1所述的安全性高的不锈钢切割机,其特征在于:所述挡罩(9)的侧面固定安装有观察玻璃窗,所述挡罩(9)的下表面固定安装有缓冲垫。

6.根据权利要求1所述的安全性高的不锈钢切割机,其特征在于:所述支撑板(1)的下表面固定安装有下料通道(13),所述下料通道(13)的侧面固定安装有支撑架(14),所述支撑架(14)的上表面固定安装有电机(15),所述电机(15)的输出端固定安装有扇叶(16)。

7.根据权利要求6所述的安全性高的不锈钢切割机,其特征在于:所述扇叶(16)与下料通道(13)的内壁之间转动连接,所述支撑板(1)的表面开设有下料槽。

我要求购
我不想找了,帮我找吧
您有专利需要变现?
我要出售
智能匹配需求,快速出售