欢迎来到知嘟嘟! 联系电话:13336804447 卖家免费入驻,海量在线求购! 卖家免费入驻,海量在线求购!
知嘟嘟
我要发布
联系电话:13336804447
知嘟嘟经纪人
收藏
专利号: 2023216296575
申请人: 嘉海巨信建设有限公司
专利类型:实用新型
专利状态:已下证
专利领域: 测量;测试
更新日期:2024-08-20
缴费截止日期: 暂无
价格&联系人
年费信息
委托购买

摘要:

权利要求书:

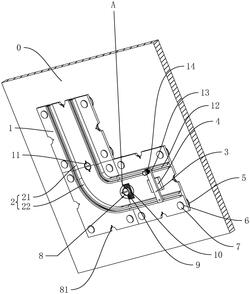
1.一种墙体漏水检测装置,其特征在于:包括若干安装板(1),所述安装板(1)安装于墙面(0),所述安装板(1)背于墙面(0)一侧固设有水平轨(21)或转弯轨(22),若干安装板(1)相互拼接将若干水平轨(21)和转弯轨(22)拼接成沿水管分布的导轨(2),所述导轨(2)上滑移设置有导向板(3),所述导向板(3)朝向安装板(1)一侧安装有探头(4)。

2.根据权利要求1所述的一种墙体漏水检测装置,其特征在于:所述安装板(1)上设置有若干吸盘(5),安装板(1)通过吸盘(5)吸附安装于墙面(0)。

3.根据权利要求2所述的一种墙体漏水检测装置,其特征在于:所述安装板(1)上开设有插孔(6),吸盘(5)上固设有插块(7),所述插块(7)可拆卸插设于插孔(6)内。

4.根据权利要求1所述的一种墙体漏水检测装置,其特征在于:所述安装板(1)周向均开设有安装半孔(81),相邻安装板(1)的安装半孔(81)拼接形成安装孔(8),所述安装孔(8)内安装有固定件(9),固定件(9)和安装板(1)之间设置有固定机构(10),固定件(9)通过固定机构(10)固定相邻安装板(1)。

5.根据权利要求4所述的一种墙体漏水检测装置,其特征在于:所述固定机构(10)包括插入槽(101)、固定槽(102)和插入块(103),所述插入槽(101)开设在安装半孔(81)中部,插入槽(101)贯穿安装板(1)一侧,所述固定槽(102)开设在安装半孔(81)内壁,固定槽(102)连通插入槽(101),所述插入块(103)有两块固定在固定件(9)上,插入槽(101)从插入孔插入转动使固定件(9)固定在固定槽(102)内。

6.根据权利要求5所述的一种墙体漏水检测装置,其特征在于:所述固定件(9)上开设有抓握槽(11)。

7.根据权利要求1所述的一种墙体漏水检测装置,其特征在于:所述导轨(2)上沿导轨(2)长度方向开设有滑移槽(12),导向板(3)上转动设置有滚轮(13),所述滚轮(13)滑移设置于滑移槽(12)内,导向板(3)通过滚轮(13)的转动在导轨(2)上滑移。

8.根据权利要求7所述的一种墙体漏水检测装置,其特征在于:所述导向板(3)上安装有动力件(14),动力件(14)连接滚轮(13)驱动滚轮(13)转动。