欢迎来到知嘟嘟! 联系电话:13336804447 卖家免费入驻,海量在线求购! 卖家免费入驻,海量在线求购!
知嘟嘟
我要发布
联系电话:13336804447
知嘟嘟经纪人
收藏
专利号: 2023216053910
申请人: 安徽钰哲农业科技有限公司
专利类型:实用新型
专利状态:已下证
专利领域: 输送;包装;贮存;搬运薄的或细丝状材料
更新日期:2024-08-25
缴费截止日期: 暂无
价格&联系人
年费信息
委托购买

摘要:

权利要求书:

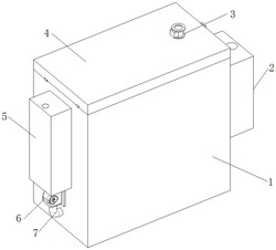
1.一种农产品运输用周转箱,包括周转箱(1),其特征在于,所述周转箱(1)的上端设置有密封盖(4),所述周转箱(1)的内壁下方设置有承托组件,所述周转箱(1)的外壁一侧设置有制冷机构,所述周转箱(1)上设置有通风机构,所述周转箱(1)的内部底端安装有紫外线灯(22),所述周转箱(1)的外壁另一侧设置有保湿机构。

2.根据权利要求1所述的一种农产品运输用周转箱,其特征在于,所述承托组件包括通过螺栓安装在周转箱(1)内部下方的托板(8),托板(8)上开设有等距离分布的通风孔,托板(8)的上端两侧均固定有支撑杆(19),两根支撑杆(19)之间固定有分隔网(20)。

3.根据权利要求1所述的一种农产品运输用周转箱,其特征在于,所述制冷机构包括固定在周转箱(1)外壁的制冷箱(2),周转箱(1)的侧壁位于制冷箱(2)内部的部分等距离的开设有通孔(14),制冷箱(2)的内壁中部固定有安装板(12),安装板(12)上固定有半导体制冷片(13),半导体制冷片(13)的冷端位于通孔(14)的一侧。

4.根据权利要求3所述的一种农产品运输用周转箱,其特征在于,所述制冷箱(2)位于半导体制冷片(13)热端一侧的上端和下端分别开设有进风口(23)和出风口(11),进风口(23)的下方安装有风扇(21)。

5.根据权利要求2所述的一种农产品运输用周转箱,其特征在于,所述通风机构包括固定在周转箱(1)外壁一侧的风机(6),风机(6)出风端连接的吹风管(7)一端延伸至周转箱(1)的内部下方,所述密封盖(4)上安装有电磁阀(3)。

6.根据权利要求5所述的一种农产品运输用周转箱,其特征在于,所述周转箱(1)的内壁下方固定有支撑网(9),支撑网(9)的上端铺设有活性炭颗粒层(10),活性炭颗粒层(10)位于托板(8)和吹风管(7)之间。

7.根据权利要求1所述的一种农产品运输用周转箱,其特征在于,所述保湿机构包括固定在周转箱(1)外壁的储水箱(5),储水箱(5)的内部安装有潜水泵(18),潜水泵(18)的出水端连接有软管(17),密封盖(4)的内壁固定有喷水管(15),喷水管(15)上连接有喷雾头(16),软管(17)的一端延伸至周转箱(1)的内部与喷水管(15)的一端连接。

我要求购
我不想找了,帮我找吧
您有专利需要变现?
我要出售
智能匹配需求,快速出售