欢迎来到知嘟嘟! 联系电话:13336804447 卖家免费入驻,海量在线求购! 卖家免费入驻,海量在线求购!
知嘟嘟
我要发布
联系电话:13336804447
知嘟嘟经纪人
收藏
专利号: 2023216049578
专利类型:实用新型
专利状态:未下证
专利领域: 暂无
更新日期:2024-01-05
缴费截止日期: 暂无
价格&联系人
年费信息
委托购买

摘要:

权利要求书:

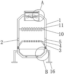
1.一种纺织品用烘干装置,包括烘干装置外壳(1),其特征在于:所述烘干装置外壳(1)的一侧开设有进料口(2),所述烘干装置外壳(1)的内侧壁固定连接有支架板(3),所述支架板(3)的正面活动连接有滚轮(4),所述烘干装置外壳(1)的一侧开设有出料口(5),所述烘干装置外壳(1)的顶部固定连接有风机壳(6);

所述风机壳(6)的内侧壁固定连接有防尘网(7),所述风机壳(6)的内侧壁固定连接有风机杆(8),所述风机杆(8)的一端固定连接有风机本体(9),所述烘干装置外壳(1)的内侧壁固定连接有固定板(10),所述固定板(10)的正面固定连接有加热块(11),所述烘干装置外壳(1)的一侧固定连接有出风网(12)。

2.根据权利要求1所述的一种纺织品用烘干装置,其特征在于:所述风机杆(8)的数量为两个,且两个风机杆(8)以风机本体(9)的中垂线为对称轴对称设置。

3.根据权利要求1所述的一种纺织品用烘干装置,其特征在于:所述防尘网(7)的形状大小与风机壳(6)的形状大小均相互匹配,且防尘网(7)为不锈钢防尘网。

4.根据权利要求1所述的一种纺织品用烘干装置,其特征在于:所述烘干装置外壳(1)的内底壁活动连接有滑块(13),所述滑块(13)的顶部固定连接有收集盒(14),所述烘干装置外壳(1)的正面活动连接有活动门(18)。

5.根据权利要求1所述的一种纺织品用烘干装置,其特征在于:所述烘干装置外壳(1)的正面开设有固定槽,且固定槽的内壁固定连接有可视玻璃(17)。

6.根据权利要求1所述的一种纺织品用烘干装置,其特征在于:所述烘干装置外壳(1)的一侧固定连接有支撑板(15),所述支撑板(15)的底部固定连接有支撑块(16)。