欢迎来到知嘟嘟! 联系电话:13336804447 卖家免费入驻,海量在线求购! 卖家免费入驻,海量在线求购!
知嘟嘟
我要发布
联系电话:13336804447
知嘟嘟经纪人
收藏
专利号: 2023215799717
申请人: 无锡富来特电子有限公司
专利类型:实用新型
专利状态:已下证
专利领域: 基本电气元件
更新日期:2024-12-10
缴费截止日期: 暂无
价格&联系人
年费信息
委托购买

摘要:

权利要求书:

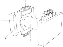
1.一种具有加强骨架结构的电源变压器,包括缠绕筒(1),其特征在于,所述缠绕筒(1)的左右两端均固定安装有连接侧板(2),所述连接侧板(2)的侧面可拆卸安装有磁芯(3),所述连接侧板(2)的上下两端均固定安装有触头保护机构(4),所述触头保护机构(4)包括固定板(41),所述固定板(41)的外壁开设有卡槽(42),所述卡槽(42)的内部螺纹安装有螺丝(43),所述螺丝(43)的表面螺纹安装有保护装置(44)。

2.根据权利要求1所述的一种具有加强骨架结构的电源变压器,其特征在于:所述固定板(41)的底端固定安装在磁芯(3)的表面,所述固定板(41)的外壁中部开设有定位槽(46),所述固定板(41)的顶面开设有插槽(47),所述插槽(47)的内部可拆卸安装有插板(48)。

3.根据权利要求2所述的一种具有加强骨架结构的电源变压器,其特征在于:所述插板(48)的顶端固定安装有连接座(49),所述连接座(49)的外壁固定安装有触头(410),所述插板(48)的表面开设有螺纹槽,所述螺纹槽的大小和螺丝(43)的大小相适配。

4.根据权利要求1所述的一种具有加强骨架结构的电源变压器,其特征在于:所述保护装置(44)包括连接底板(441),所述连接底板(441)的表面开设有螺丝槽(442),所述螺丝槽(442)螺纹安装在螺丝(43)的表面,且所述连接底板(441)的大小和卡槽(42)的大小相适配。

5.根据权利要求4所述的一种具有加强骨架结构的电源变压器,其特征在于:所述连接底板(441)的顶端固定安装有加强肋(443),所述加强肋(443)的侧面固定安装有安装框(444),所述安装框(444)的正面固定连通有触头保护管(445),所述触头保护管(445)活动套接在触头(410)的表面。

6.根据权利要求5所述的一种具有加强骨架结构的电源变压器,其特征在于:所述安装框(444)的数量若干个,若干个所述安装框(444)之间的中部均固定安装有连接横板(447)。

7.根据权利要求6所述的一种具有加强骨架结构的电源变压器,其特征在于:所述连接横板(447)的上下两侧设置有波浪板(446),每相邻的两个安装框(444)之间均通过波浪板(446)进行固定连接。

8.根据权利要求6所述的一种具有加强骨架结构的电源变压器,其特征在于:所述安装框(444)的底部固定安装有定位块(45),所述定位块(45)的大小和定位槽(46)的大小相适配。