欢迎来到知嘟嘟! 联系电话:13336804447 卖家免费入驻,海量在线求购! 卖家免费入驻,海量在线求购!
知嘟嘟
我要发布
联系电话:13336804447
知嘟嘟经纪人
收藏
专利号: 202321537691X
专利类型:实用新型
专利状态:未下证
专利领域: 暂无
更新日期:2024-01-05
缴费截止日期: 暂无
价格&联系人
年费信息
委托购买

摘要:

权利要求书:

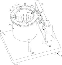
1.一种具有过滤结构的润滑油回收装置,包括回收装置底座(1);其特征在于:所述回收装置底座(1)底端拐角处皆设置有支撑块(4),所述回收装置底座(1)底端与支撑块(4)固定连接,所述回收装置底座(1)顶端的上下两侧皆设置有第一支撑杆(40),所述第一支撑杆(40)底端与回收装置底座(1)固定连接,所述第一支撑杆(40)顶端与回收筒(3)固定连接,所述回收装置底座(1)顶端与第二支撑杆(41)底端固定连接,所述第二支撑杆(41)顶端与固定板(2)底端固定连接,所述固定板(2)与回收筒(3)之间设置有过滤机构;

所述过滤机构包括电机(10),所述电机(10)一端与固定板(2)内壁固定连接,所述电机(10)的另一端与第一固定杆(11)底端固定连接,所述第一固定杆(11)顶端与第一齿轮(12)固定连接,所述第一齿轮(12)的上方与第二齿轮(13)卡合,所述第二齿轮(13)顶端与第二固定杆(14)底端固定连接,所述第二固定杆(14)的顶端与第三齿轮(15)底端固定连接,所述第三齿轮(15)的一侧与第四齿轮(16)卡合,所述第四齿轮(16)设置在回收筒(3)的上方,且第四齿轮(16)与回收筒(3)转动连接,所述第四齿轮(16)的中间位置处设置有过滤筒(21)。

2.根据权利要求1所述的一种具有过滤结构的润滑油回收装置,其特征在于:所述第三齿轮(15)的上端与第三固定杆(17)底端固定连接,所述第三固定杆(17)顶端与转动块(18)底端固定连接,所述固定板(2)内部的上方位置处与第一固定块(20)顶端固定连接,所述第一固定块(20)底端开设有第一凹槽(19),所述第三固定杆(17)和转动块(18)皆插设在第一凹槽(19)内部,且第三固定杆(17)和转动块(18)皆与第一固定块(20)转动连接。

3.根据权利要求2所述的一种具有过滤结构的润滑油回收装置,其特征在于:所述固定板(2)内部底端位置处与第二固定块(22)底端固定连接,所述第二固定块(22)顶端套设在第一固定杆(11)的外侧,所述第二固定块(22)与第一固定杆(11)转动连接。

4.根据权利要求3所述的一种具有过滤结构的润滑油回收装置,其特征在于:所述第四齿轮(16)与过滤筒(21)之间设置有拆卸机构,所述拆卸机构包括第三固定块(30),所述第三固定块(30)底端与第四齿轮(16)顶端固定连接,所述第四齿轮(16)上端两侧皆设置有第三固定块(30),所述第三固定块(30)一侧与伸缩杆(31)底端固定连接,所述伸缩杆(31)的顶端与第一卡块(33)一侧固定连接,且伸缩杆(31)的外侧套设有复位弹簧(32),所述复位弹簧(32)的底端与第三固定块(30)固定连接,且复位弹簧(32)顶端与第一卡块(33)一侧固定连接。

5.根据权利要求4所述的一种具有过滤结构的润滑油回收装置,其特征在于:所述过滤筒(21)的上端两侧皆设置有第一卡槽快(34),所述第一卡块(33)插设在第一卡槽快(34)内部。

6.根据权利要求5所述的一种具有过滤结构的润滑油回收装置,其特征在于:所述第四齿轮(16)顶端的两侧皆设置有第二卡块(35),且第四齿轮(16)的顶端与第二卡块(35)底端固定连接,所述过滤筒(21)的顶端两侧皆设置有第二卡槽块(36),且过滤筒(21)的顶端与第二卡槽块(36)底端固定连接,所述第二卡块(35)与第二卡槽块(36)卡合。