欢迎来到知嘟嘟! 联系电话:13336804447 卖家免费入驻,海量在线求购! 卖家免费入驻,海量在线求购!
知嘟嘟
我要发布
联系电话:13336804447
知嘟嘟经纪人
收藏
专利号: 202321483334X
申请人: 苏州市宝云电子科技有限公司
专利类型:实用新型
专利状态:已下证
专利领域: 测量;测试
更新日期:2025-02-24
缴费截止日期: 暂无
价格&联系人
年费信息
委托购买

摘要:

权利要求书:

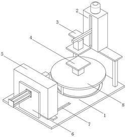
1.一种导电胶条测试设备,包括底板(1),其特征在于:所述底板(1)顶部的中端固定连接有电机盒(12),所述电机盒(12)的内腔固定连接有转动电机(13),所述转动电机(13)的输出端固定连接有转盘(8),所述转盘(8)的顶部固定连接有电动伸缩杆(16),所述电动伸缩杆(16)的输出端固定连接有固定板(4),所述底板(1)顶部的右侧固定连接有支撑架(3),所述支撑架(3)的顶部固定连接有固定箱(2);

所述固定箱(2)的顶部固定连接有伺服电机(201),所述伺服电机(201)的输出端固定连接有螺杆(202),所述螺杆(202)的表面螺纹连接有螺套(203),所述螺套(203)的左侧固定连接有连接杆(204),所述连接杆(204)的底部固定连接有压板(205)。

2.根据权利要求1所述的一种导电胶条测试设备,其特征在于:所述转盘(8)底部的左右两侧均固定连接有滑柱(14),所述底板(1)的顶部且位于电机盒(12)的外侧开设有环形滑槽(17),所述环形滑槽(17)的底部滑动连接于滑柱(14)的内腔中。

3.根据权利要求1所述的一种导电胶条测试设备,其特征在于:所述电机盒(12)的右侧镶嵌有防尘网(15),所述电机盒(12)的正表面通过合页活动连接有盖板(18)。

4.根据权利要求1所述的一种导电胶条测试设备,其特征在于:所述固定箱(2)内壁的右侧开设有纵向滑槽(207),所述螺套(203)的右侧固定连接有滑块(206),所述滑块(206)的右侧滑动连接于纵向滑槽(207)的内腔中。

5.根据权利要求1所述的一种导电胶条测试设备,其特征在于:所述固定箱(2)的左侧开设有通槽(208),所述连接杆(204)的左侧贯穿通槽(208)的内腔并延伸至固定箱(2)的左侧。

6.根据权利要求1所述的一种导电胶条测试设备,其特征在于:所述底板(1)顶部左侧的前侧与背侧均开设有横向滑槽(7),所述横向滑槽(7)的内腔滑动连接有滑板(11),所述滑板(11)的顶部固定连接有测试设备本体(5),所述测试设备本体(5)右侧的顶部固定连接有探测头(10)。

7.根据权利要求6所述的一种导电胶条测试设备,其特征在于:所述底板(1)顶部的左侧固定连接有竖板(6),所述竖板(6)的左侧固定连接有气缸(9),所述气缸(9)的输出端贯穿竖板(6)的内表面并固定连接于测试设备本体(5)的左侧。