欢迎来到知嘟嘟! 联系电话:13336804447 卖家免费入驻,海量在线求购! 卖家免费入驻,海量在线求购!
知嘟嘟
我要发布
联系电话:13336804447
知嘟嘟经纪人
收藏
专利号: 2023214228840
专利类型:实用新型
专利状态:未下证
专利领域: 暂无
更新日期:2024-01-05
缴费截止日期: 暂无
价格&联系人
年费信息
委托购买

摘要:

权利要求书:

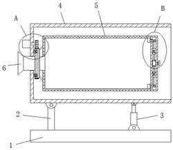
1.一种中药材加工筛选装置,包括底板(1),其特征在于,所述底板(1)的顶部设置有倾斜机构,倾斜机构上连接有圆筒(4),圆筒(4)的右侧为开口,圆筒(4)的左侧转动安装有加料管(6),加料管(6)的左侧为喇叭结构,加料管(6)上固定安装有圆形网(5),圆形网(5)的右侧为开口且连接有封堵机构,加料管(6)上固定安装有圆盘(10),圆筒(4)上安装有驱动机构,圆盘(10)的外侧套设有环形外齿条(9),驱动机构与环形外齿条(9)相啮合,所述驱动机构包括伺服电机(7),伺服电机(7)安装在圆筒(4)的外侧,伺服电机(7)的输出轴上安装有驱动齿轮(8),驱动齿轮(8)与环形外齿条(9)相啮合。

2.根据权利要求1所述的一种中药材加工筛选装置,其特征在于,所述圆筒(4)的内壁上固定安装有支撑环(13),圆盘(10)的内侧开设有支撑槽(11),支撑槽(11)为环形结构,支撑环(13)与支撑槽(11)的内壁滑动连接。

3.根据权利要求1所述的一种中药材加工筛选装置,其特征在于,所述倾斜机构包括两个支撑柱(2)和两个推杆气缸(3),两个支撑柱(2)均固定安装在底板(1)的顶部,两个推杆气缸(3)均转动安装在底板(1)的顶部,两个推杆气缸(3)的输出轴均与圆筒(4)的底部转动连接。

4.根据权利要求1所述的一种中药材加工筛选装置,其特征在于,所述封堵机构包括中空圆盒(14),中空圆盒(14)上开设有四个定位孔(25),圆形网(5)的内壁上固定安装有四个固定块(15),四个固定块(15)上均固定安装有定位杆(16),定位杆(16)与定位孔(25)活动连接。

5.根据权利要求4所述的一种中药材加工筛选装置,其特征在于,所述中空圆盒(14)内固定安装有四个支撑块(19),四个支撑块(19)上均滑动安装有锁定杆(18),锁定杆(18)的端头为倾斜设置,定位杆(16)上开设有斜边槽(17),锁定杆(18)与斜边槽(17)单向卡接,锁定杆(18)的外侧安装有弹力板(21),弹力板(21)与对应的支撑块(19)之间安装有同一个拉簧(20),拉簧(20)套设在锁定杆(18)的外侧。

6.根据权利要求5所述的一种中药材加工筛选装置,其特征在于,所述中空圆盒(14)内转动安装有收卷轮(23),收卷轮(23)的外侧安装有手柄(24),收卷轮(23)的外侧安装有四个拉绳(22),四个拉绳(22)与四个弹力板(21)固定连接。