欢迎来到知嘟嘟! 联系电话:13336804447 卖家免费入驻,海量在线求购! 卖家免费入驻,海量在线求购!
知嘟嘟
我要发布
联系电话:13336804447
知嘟嘟经纪人
收藏
专利号: 2023214105107
专利类型:实用新型
专利状态:未下证
专利领域: 暂无
更新日期:2023-11-27
缴费截止日期: 暂无
价格&联系人
年费信息
委托购买

摘要:

权利要求书:

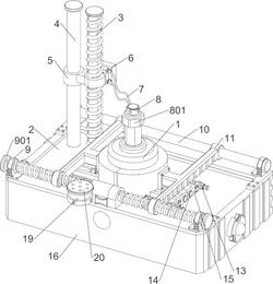
1.一种家电马达的扭矩测试装置,包括有马达(1)、底座(2)、第一导向杆(4)、第一固定板(5)、显示屏(6)、连接线(7)、定位套(801)和检测仪(8),底座(2)上放置有马达(1),底座(2)顶部左侧固接有第一导向杆(4),第一导向杆(4)上滑动式设置有第一固定板(5),第一固定板(5)后侧安装有显示屏(6),马达(1)的输出轴上套有定位套(801),定位套(801)顶部安装有检测仪(8),检测仪(8)与显示屏(6)之间连接有两根连接线(7),其特征在于,还包括有输气管(16)和风扇(18),底座(2)前侧连接有输气管(16),输气管(16)内安装有风扇(18)。

2.按照权利要求1所述的一种家电马达的扭矩测试装置,其特征在于,还包括有第二固定板(9)、第二螺杆(901)、第二导向杆(10)和夹持板(11),底座(2)顶部前后两侧均左右对称固接有第二固定板(9),前侧左右对称的第二固定板(9)之间转动式设置有第二螺杆(901),后侧左右对称的第二固定板(9)之间固接有第二导向杆(10),第二导向杆(10)上左右对称滑动式设置有夹持板(11),夹持板(11)与第二螺杆(901)螺纹式连接,马达(1)位于两个夹持板(11)之间。

3.按照权利要求2所述的一种家电马达的扭矩测试装置,其特征在于,还包括有第三固定板(12)、第三螺杆(13)、第三导向杆(14)和限位板(15),底座(2)顶部左右两侧均前后对称固接有第三固定板(12),第三固定板(12)上转动式设置有第三螺杆(13),底座(2)顶部左右两侧均前后对称固接有第三导向杆(14),第三导向杆(14)上滑动式设置有限位板(15),限位板(15)与相近的第三螺杆(13)螺纹式连接,限位板(15)贯穿夹持板(11)。

4.按照权利要求3所述的一种家电马达的扭矩测试装置,其特征在于,还包括有第一螺杆(3),底座(2)顶部左侧转动式设置有第一螺杆(3),第一固定板(5)与第一螺杆(3)螺纹式连接。

5.按照权利要求4所述的一种家电马达的扭矩测试装置,其特征在于,还包括有导风板(19),输气管(16)顶端固接有导风板(19)。

6.按照权利要求5所述的一种家电马达的扭矩测试装置,其特征在于,还包括有输气板(20),导风板(19)上固接有输气板(20)。

我要求购
我不想找了,帮我找吧
您有专利需要变现?
我要出售
智能匹配需求,快速出售