欢迎来到知嘟嘟! 联系电话:13336804447 卖家免费入驻,海量在线求购! 卖家免费入驻,海量在线求购!
知嘟嘟
我要发布
联系电话:13336804447
知嘟嘟经纪人
收藏
专利号: 2023214005081
专利类型:实用新型
专利状态:未下证
专利领域: 暂无
更新日期:2023-12-03
缴费截止日期: 暂无
价格&联系人
年费信息
委托购买

摘要:

权利要求书:

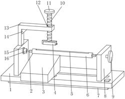
1.一种手动的凭证卷绕器,其特征在于:包括安装板(1),所述安装板(1)的上表面开设有滑槽(19),所述滑槽(19)的内壁滑动连接有滑块(17),所述滑块(17)的上表面与安装板(1)的上表面均固定连接有立板(8),两个所述立板(8)相互靠近的一侧面均固定镶嵌有压力轴承(15)每个所述压力轴承(15)的内圈均固定连接有凹杆(16),所述安装板(1)的上方设有收卷辊(6),所述收卷辊(6)的外表面开设有限位槽(5),所述收卷辊(6)的左右两端均固定连接有凸块(2),两个所述凹杆(16)其中一个的右端固定连接有第一转盘(9),两个所述立板(8)其中一个的上表面固定连接有L型安装架(13),所述L型安装架(13)的上表面开设有螺纹孔(12),所述螺纹孔(12)的内壁螺纹连接有螺纹杆(10),螺纹杆(10)的顶端固定连接有第二转盘(11),所述螺纹杆(10)的底端固定安装有辅助压轮(4)。

2.根据权利要求1所述的一种手动的凭证卷绕器,其特征在于:所述L型安装架(13)的内侧壁固定连接有加固块(14),所述加固块(14)的上表面与L型安装架(13)的内顶壁固定连接。

3.根据权利要求1所述的一种手动的凭证卷绕器,其特征在于:所述安装板(1)的上表面开设有插槽(20),所述安装板(1)的上方设有支撑斜板(3)。

4.根据权利要求1所述的一种手动的凭证卷绕器,其特征在于:所述安装板(1)的上方设有操作指示牌(18),所述操作指示牌(18)的底面与安装板(1)的上表面固定连接。

5.根据权利要求1所述的一种手动的凭证卷绕器,其特征在于:两个所述立板(8)其中一个的左侧设有铭牌(21),所述铭牌(21)的右侧面与两个立板(8)的其中一个的左侧面固定连接。

6.根据权利要求1所述的一种手动的凭证卷绕器,其特征在于:所述安装板(1)的底面固定连接有防滑垫(7),所述防滑垫(7)为橡胶材质。