欢迎来到知嘟嘟! 联系电话:13336804447 卖家免费入驻,海量在线求购! 卖家免费入驻,海量在线求购!
知嘟嘟
我要发布
联系电话:13336804447
知嘟嘟经纪人
收藏
专利号: 2023213720791
专利类型:实用新型
专利状态:未下证
专利领域: 暂无
更新日期:2024-05-10
缴费截止日期: 暂无
价格&联系人
年费信息
委托购买

摘要:

权利要求书:

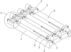
1.一种氢能源氢气瓶运输加固机构,包括加固底座(1),在所述加固底座(1)顶部安装的两个对氢气瓶(6)进行卡紧固定的第一固定结构和第二固定结构,其特征在于:所述加固底座(1)上安装有带动第二固定结构进行移动的第一转动结构,所述加固底座(1)的一端安装有第二转动结构,且第二转动结构带动监测罩(15)进行移动,所述监测罩(15)罩合在氢气瓶的出气口端。

2.根据权利要求1所述的一种氢能源氢气瓶运输加固机构,其特征在于:所述第一固定结构包括第一支撑座(2)和第二支撑座(3),所述第一支撑座(2)固定安装在加固底座(1)的顶部,所述第一支撑座(2)和第二支撑座(3)上开设有弧形状的固定槽,所述第一支撑座(2)和第二支撑座(3)上的凸边之间采用螺栓固定。

3.根据权利要求2所述的一种氢能源氢气瓶运输加固机构,其特征在于:所述第二固定结构包括第三支撑座(4)和第四支撑座(5),所述第三支撑座(4)和第四支撑座(5)上也开设有弧形状的固定槽,所述第三支撑座(4)的底部设置有滑座。

4.根据权利要求1所述的一种氢能源氢气瓶运输加固机构,其特征在于:所述第一转动结构包括第一丝杠(7),且第一丝杠(7)的一端通过轴承与第一安装槽(8)槽壁上安装的轴承座相安装,所述第一丝杠(7)还与滑座上开设的螺孔之间适配安装。

5.根据权利要求4所述的一种氢能源氢气瓶运输加固机构,其特征在于:所述滑座的两端设置有滑块(10),其滑块(10)在第一安装槽(8)内壁上开设的滑槽(9)中移动。

6.根据权利要求1所述的一种氢能源氢气瓶运输加固机构,其特征在于:所述第二转动结构包括安装在加固底座(1)一端的安装座(11),且安装座(11)的顶部开设有第二安装槽(12)。

7.根据权利要求6所述的一种氢能源氢气瓶运输加固机构,其特征在于:所述第二转动结构还包括第二丝杠(13),且第二丝杠(13)的一端通过轴承与第二安装槽(12)内壁上的轴承座相安装,所述第二丝杠(13)还与移动块(14)上开设的螺孔之间适配安装。

8.根据权利要求7所述的一种氢能源氢气瓶运输加固机构,其特征在于:所述移动块(14)的顶端与监测罩(15)之间相连接,所述监测罩(15)内安装有氢气监测探头。