欢迎来到知嘟嘟! 联系电话:13336804447 卖家免费入驻,海量在线求购! 卖家免费入驻,海量在线求购!
知嘟嘟
我要发布
联系电话:13336804447
知嘟嘟经纪人
收藏
专利号: 2023213338330
申请人: 申蓝合创生态环境有限公司
专利类型:实用新型
专利状态:已下证
专利领域: 水、废水、污水或污泥的处理
更新日期:2024-02-26
缴费截止日期: 暂无
价格&联系人
年费信息
委托购买

摘要:

权利要求书:

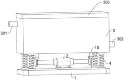
1.一种强化反硝化脱氮除磷渗滤床,包括固定底板(1)以及通过若干个弹簧(4)固定连接的渗虑床(3),其特征在于,所述固定底板(1)的上侧面固定设置有双输出轴驱动电机(2),所述双输出轴驱动电机(2)两端的输出轴(201)均固定设置有异型凸轮(6),所述固定底板(1)的底部固定设置有驱动凹槽(10),所述驱动凹槽(10)设置在所述异型凸轮(6)的上方,所述驱动凹槽(10)的底部开设有凸轮凹槽(14),所述异型凸轮(6)滑动设置在所述凸轮凹槽(14)的内部;

所述渗虑床(3)的内部固定设置有排水板(9),所述排水板(9)的上方依次设置有深度净水层(13)、强化除磷层(11)以及强化脱氮反应层(12)。

2.根据权利要求1所述的一种强化反硝化脱氮除磷渗滤床,其特征在于:所述弹簧(4)固定设置在所述固定底板(1)的四角处,所述弹簧(4)的上下两端均固定设置有焊接板(8),上端的所述焊接板(8)与所述渗虑床(3)的底部固定连接,下端的所述焊接板(8)与所述固定底板(1)的上侧面固定连接。

3.根据权利要求1所述的一种强化反硝化脱氮除磷渗滤床,其特征在于:两个所述异型凸轮(6)相对设置,其中一个所述异型凸轮(6)靠近所述驱动凹槽(10)时,另一个所述异型凸轮(6)远离所述驱动凹槽(10)。

4.根据权利要求1所述的一种强化反硝化脱氮除磷渗滤床,其特征在于:所述双输出轴驱动电机(2)上固定设置有电机固定板(5),所述电机固定板(5)通过紧固螺栓(7)固定设置在所述固定底板(1)上侧面的中部。

5.根据权利要求1所述的一种强化反硝化脱氮除磷渗滤床,其特征在于:所述渗虑床(3)外侧面的底部连接有排水口(302),所述排水口(302)与所述固定底板(1)的内部相连通,所述排水口(302)设置在所述排水板(9)的下方。

6.根据权利要求1所述的一种强化反硝化脱氮除磷渗滤床,其特征在于:所述渗虑床(3)的内部固定设置有排水板支撑圈(304),所述排水板(9)设置在所述排水板支撑圈(304)上,所述排水板(9)上开设有若干个均匀分布的排水孔(901)。

7.根据权利要求1所述的一种强化反硝化脱氮除磷渗滤床,其特征在于:所述渗虑床(3)的外侧面上方开设有进水口(301),所述进水口(301)与所述固定底板(1)的内部相连通,且所述进水口(301)设置在所述强化脱氮反应层(12)的上方。

8.根据权利要求1所述的一种强化反硝化脱氮除磷渗滤床,其特征在于:所述渗虑床(3)的端口处通过合页转动设置有渗滤床顶盖(303)。