欢迎来到知嘟嘟! 联系电话:13336804447 卖家免费入驻,海量在线求购! 卖家免费入驻,海量在线求购!
知嘟嘟
我要发布
联系电话:13336804447
知嘟嘟经纪人
收藏
专利号: 2023213230701
申请人: 福鼎市鸿鑫科技有限公司
专利类型:实用新型
专利状态:已下证
专利领域: 机床;其他类目中不包括的金属加工
更新日期:2025-01-09
缴费截止日期: 暂无
价格&联系人
年费信息
委托购买

摘要:

权利要求书:

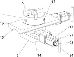
1.一种汽车空调压缩机活塞加工用组合工装,包括卡盘(1)和底座(2),底座(2)安装在外界设备上,其特征在于:所述卡盘(1)上设置有润滑机构,所述底座(2)上设置有调节机构,所述润滑机构包括密封螺栓(3)、齿轮盘(4)、螺纹环(5)、卡块(6)、螺纹块(7)、卡紧机构和密封盘(8),卡盘(1)上开设有进油槽(9),密封螺栓(3)螺纹连接在进油槽(9)上,卡盘(1)上开设有滑槽(10),滑槽(10)内滑动连接有螺纹块(7),螺纹块(7)上安装有卡块(6),卡块(6)卡接在活塞上,齿轮盘(4)转动连接在卡盘(1)内,齿轮盘(4)上设置有螺纹环(5),螺纹块(7)螺纹连接在螺纹环(5)上,所述卡紧机构配合连接在齿轮盘(4)上,密封盘(8)安装在卡盘(1)上。

2.根据权利要求1所述的一种汽车空调压缩机活塞加工用组合工装,其特征在于:所述卡紧机构包括卡紧轮(11)和卡紧螺栓(12),卡紧轮(11)安装在卡紧螺栓(12)上,卡紧螺栓(12)转动连接在卡盘(1)上,卡紧轮(11)啮合在齿轮盘(4)上。

3.根据权利要求2所述的一种汽车空调压缩机活塞加工用组合工装,其特征在于:所述卡紧机构设置有多个,且多个所述卡紧机构分别安装在卡盘(1)上。

4.根据权利要求1所述的一种汽车空调压缩机活塞加工用组合工装,其特征在于:所述调节机构包括横向块(13)、横向板(14)和驱动机构,横向板(14)上安装有横向块(13),横向块(13)滑动连接在底座(2)上,且横向板(14)贴合在底座(2)上。

5.根据权利要求4所述的一种汽车空调压缩机活塞加工用组合工装,其特征在于:所述横向板(14)上滑动设有纵向块(15)和纵向板(16),纵向块(15)安装在纵向板(16)上,纵向块(15)滑动连接在横向板(14)上,纵向板(16)贴合在横向板(14)上,卡盘(1)安装在纵向板(16)上。

6.根据权利要求5所述的一种汽车空调压缩机活塞加工用组合工装,其特征在于:所述驱动机构包括电机(17)、丝杠(18)和螺纹座(19),所述电机(17)设置有两个,且两个所述电机(17)分别固定安装在横向板(14)和纵向板(16)上,所述螺纹座(19)设置有两个,且两个所述螺纹座(19)分别固定安装在横向块(13)和底板上,丝杠(18)分别安装在两个所述电机(17)的伸出端上,且两个所述丝杠(18)分别螺纹连接在两个所述螺纹块(7)上。

7.根据权利要求6所述的一种汽车空调压缩机活塞加工用组合工装,其特征在于:每个所述电机(17)上均设有调节套(20)和刻度(21),调节套(20)连接在电机(17)的伸出端上,刻度(21)设置在调节套(20)上,调节套(20)上开设有六角槽(22),六角槽(22)内设有六角段(23)和把手(24),把手(24)安装在六角段(23)上。