欢迎来到知嘟嘟! 联系电话:13336804447 卖家免费入驻,海量在线求购! 卖家免费入驻,海量在线求购!
知嘟嘟
我要发布
联系电话:13336804447
知嘟嘟经纪人
收藏
专利号: 2023213031318
申请人: 邵天蓉
专利类型:实用新型
专利状态:已下证
专利领域: 一般车辆
更新日期:2025-01-09
缴费截止日期: 暂无
价格&联系人
年费信息
委托购买

摘要:

权利要求书:

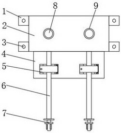
1.一种汽车上大灯线束总成,包括线束总成本体(2),其特征在于:所述线束总成本体(2)前侧的底部固定连接有固定板(4),所述固定板(4)顶部的左右两侧均固定连接有防脱落装置(5),所述线束总成本体(2)前侧的左右两侧均固定连接有连接线(6),所述连接线(6)的前侧贯穿防脱落装置(5)并固定连接有连接插件(7),所述线束总成本体(2)左右两侧的前侧和后侧均固定连接有连接板(1),所述连接板(1)的顶部贯穿设置有定位螺钉(3),所述线束总成本体(2)顶部的左右两侧均固定连接有灯座(9),所述灯座(9)的顶部固定连接有感应灯(8),所述感应灯(8)的输入端与连接线(6)的输出端电性连接。

2.根据权利要求1所述的一种汽车上大灯线束总成,其特征在于:所述防脱落装置(5)包括固定外壳(505),所述固定外壳(505)内腔的左右两侧均开设有固定槽(504),所述固定槽(504)的内腔固定连接有滑杆(517),所述滑杆(517)外表面的顶部和中心处分别套设有伸缩弹簧(503)和滑块(511),所述伸缩弹簧(503)的顶部与固定槽(504)内腔的顶部固定连接,所述伸缩弹簧(503)的底部与滑块(511)的顶部固定连接。

3.根据权利要求2所述的一种汽车上大灯线束总成,其特征在于:所述固定外壳(505)内腔左右两侧的顶部和底部均固定连接有电动伸缩杆(506),所述滑块(511)相对应的一侧固定连接有第一连接块(515),所述第一连接块(515)的内腔贯穿设置有第一转动杆(516),所述第一转动杆(516)的外表面活动套设有连接杆(514),底部的电动伸缩杆(506)的顶部固定连接有第二连接块(512),所述第二连接块(512)的内侧贯穿设置有第二转动杆(513),所述连接杆(514)的底部套设在第二转动杆(513)的外表面。

4.根据权利要求3所述的一种汽车上大灯线束总成,其特征在于:所述电动伸缩杆(506)相对应的一侧固定连接有限位块(507),所述限位块(507)内腔相对应的一侧固定连接有橡胶垫(508)。

5.根据权利要求2所述的一种汽车上大灯线束总成,其特征在于:所述固定外壳(505)顶部的右侧固定连接有U型块(509),所述U型块(509)的内腔贯穿设置有转动轴(510),所述转动轴(510)的外表面活动套设有防护盖(501)。

6.根据权利要求5所述的一种汽车上大灯线束总成,其特征在于:所述防护盖(501)顶部表面的左侧设置有固定螺杆(502),所述防护盖(501)和固定外壳(505)顶部表面的左侧均开设有配合固定螺杆(502)使用的固定螺孔。

我要求购
我不想找了,帮我找吧
您有专利需要变现?
我要出售
智能匹配需求,快速出售