欢迎来到知嘟嘟! 联系电话:13336804447 卖家免费入驻,海量在线求购! 卖家免费入驻,海量在线求购!
知嘟嘟
我要发布
联系电话:13336804447
知嘟嘟经纪人
收藏
专利号: 2023212856173
专利类型:实用新型
专利状态:未下证
专利领域: 暂无
更新日期:2023-11-13
缴费截止日期: 暂无
价格&联系人
年费信息
委托购买

摘要:

权利要求书:

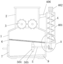
1.一种碾米碎米机构,其特征在于,包括:

操作箱(1),操作箱(1)的顶部固定安装有粉碎箱(2);

回料机构(4),设置于操作箱(1)的一侧,回料机构(4)包括有减速电机(402)、第一转动杆(403)和螺旋刀片(404),所述回料机构(4)还包括有回料箱(401)、出料口(405)和回料管(406),操作箱(1)的一侧固定安装有回料箱(401),操作箱(1)的一侧和回料箱(401)的一侧开设有相连通的出料口(405),回料箱(401)的顶部固定安装有减速电机(402),回料箱(401)的内侧顶部转动安装有第一转动杆(403),减速电机(402)的输出轴与第一转动杆(403)的一端固定连接,第一转动杆(403)的外壁固定安装有螺旋刀片(404),回料箱(401)的一侧固定安装有回料管(406),回料管(406)的一端与粉碎箱(2)的一侧固定连接,且延伸至粉碎箱(2)的内部,所述回料管(406)朝粉碎箱(2)的方向相倾斜;

振动机构(5),设置于操作箱(1)的内部,所述振动机构(5)包括有第一锥齿轮(501)、第二锥齿轮(502)、第二转动杆(503)、圆柱块(504)和凸块(505),第一转动杆(403)的另一端延伸至回料箱(401)的外部,第一转动杆(403)的外壁固定安装有第一锥齿轮(501),操作箱(1)的一侧内壁转动安装有第二转动杆(503),第二转动杆(503)的一端延伸至操作箱(1)的外部,且固定安装有第二锥齿轮(502),第一锥齿轮(501)和第二锥齿轮(502)之间相啮合,第二转动杆(503)的另一端固定安装有圆柱块(504),圆柱块(504)的外壁固定安装有多组凸块(505)。

2.根据权利要求1所述的一种碾米碎米机构,其特征在于:所述粉碎箱(2)的前后侧内壁设置有粉碎组件(3),粉碎箱(2)的顶部设置有盖子。

3.根据权利要求2所述的一种碾米碎米机构,其特征在于:所述操作箱(1)的两侧内壁固定安装有倾斜的筛网(6),操作箱(1)的内侧底部固定安装有导料板(9)。

4.根据权利要求3所述的一种碾米碎米机构,其特征在于:所述操作箱(1)的另一侧开设有取粉口(7),操作箱(1)的另一侧设置有滑轨,滑轨上滑动安装有滑动盖(8),滑动盖(8)上设置有手提杆。