欢迎来到知嘟嘟! 联系电话:13336804447 卖家免费入驻,海量在线求购! 卖家免费入驻,海量在线求购!
知嘟嘟
我要发布
联系电话:13336804447
知嘟嘟经纪人
收藏
专利号: 2023212058120
申请人: 湖北建鄂勘察设计审查咨询有限公司
专利类型:实用新型
专利状态:已下证
专利领域: 工程元件或部件;为产生和保持机器或设备的有效运行的一般措施;一般绝热
更新日期:2024-02-23
缴费截止日期: 暂无
价格&联系人
年费信息
委托购买

摘要:

权利要求书:

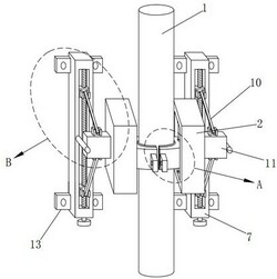
1.一种建筑竖向管道柔性抗震支架,其特征在于,包括:

设置在竖向管道外部的两个壳体,两个所述壳体的两侧内壁上均固定安装有滑杆;

两个弧形夹板,两个所述弧形夹板分别滑动安装在两个所述滑杆上,两个所述弧形夹板上均固定安装有两个减震柱,多个所述减震柱相互远离的一端分别与两个所述壳体的两侧内壁固定连接;

两个柔性防滑垫,两个所述柔性防滑垫分别固定安装在两个所述弧形夹板上;

两个用于调节管道安装位置的调节机构,两个所述调节机构分别设置在两个所述壳体上。

2.根据权利要求1所述的建筑竖向管道柔性抗震支架,其特征在于,所述调节机构包括固定板、双向螺杆、两个滑块、两个铰接杆和定位块,所述固定板设置在所述壳体的一侧,所述固定板上开设有滑动槽,所述双向螺杆转动安装在所述滑动槽的两侧内壁上,所述双向螺杆的一端延伸至所述固定板的外部,两个所述滑块均螺纹安装在所述双向螺杆上,两个所述滑块均与所述滑动槽的内壁滑动连接,两个所述铰接杆分别铰接在两个所述滑块上,所述定位块铰接在两个所述铰接杆相互靠近的一端,所述定位块的一侧与所述壳体的一侧固定连接。

3.根据权利要求2所述的建筑竖向管道柔性抗震支架,其特征在于,两个所述定位块相互远离的一侧均固定安装有伸缩杆,两个所述伸缩杆的一端分别与两个所述固定板的一侧固定连接。

4.根据权利要求2所述的建筑竖向管道柔性抗震支架,其特征在于,两个所述双向螺杆的底端均固定安装有旋钮。

5.根据权利要求2所述的建筑竖向管道柔性抗震支架,其特征在于,两个所述固定板上固定安装有多个安装板,多个所述安装板上均开设有安装孔。

6.根据权利要求1所述的建筑竖向管道柔性抗震支架,其特征在于,两个所述弧形夹板上均固定安装有两个定位板,多个所述定位板上均开设有螺纹孔。

7.根据权利要求1所述的建筑竖向管道柔性抗震支架,其特征在于,两个所述柔性防滑垫均为硅胶材料制成。