欢迎来到知嘟嘟! 联系电话:13336804447 卖家免费入驻,海量在线求购! 卖家免费入驻,海量在线求购!
知嘟嘟
我要发布
联系电话:13336804447
知嘟嘟经纪人
收藏
专利号: 2023211791754
申请人: 中云数通科技有限公司
专利类型:实用新型
专利状态:已下证
专利领域: 手动工具;轻便机动工具;手动器械的手柄;车间设备;机械手
更新日期:2024-02-23
缴费截止日期: 暂无
价格&联系人
年费信息
委托购买

摘要:

权利要求书:

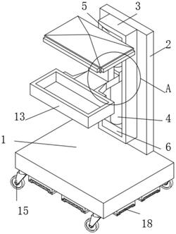
1.一种电力工程用维修架,包括底座(1),其特征在于:所述底座(1)下端设置有安装槽(16),所述安装槽(16)下端均匀设置有四个第二电动推杆(17),所述第二电动推杆(17)下端固定连接有井字支撑件(18),所述底座(1)上端固定连接有侧板(2),所述侧板(2)一侧固定连接有壳体(3),所述壳体(3)内部设置有丝杠(4),所述丝杠(4)上螺纹连接有连接块(7),所述连接块(7)一侧固定连接有连接板(8),所述连接板(8)一侧固定连接有维修架(13),所述连接板(8)上端设置有防护板(10),所述防护板(10)外侧均匀设置有三个延伸板(14)。

2.根据权利要求1所述的一种电力工程用维修架,其特征在于,所述底座(1)下端均匀设置有四个移动轮(22),所述移动轮(22)都设置于安装槽(16)外侧。

3.根据权利要求1所述的一种电力工程用维修架,其特征在于,所述第二电动推杆(17)上端固定连接有固定板(20),所述固定板(20)上端固定连接于安装槽(16)内侧。

4.根据权利要求1所述的一种电力工程用维修架,其特征在于,所述井字支撑件(18)下端固定连接有井字吸盘(19),所述井字吸盘(19)下端设置有井字凹槽(21)。

5.根据权利要求1所述的一种电力工程用维修架,其特征在于,所述维修架(13)一侧对称固定连接有两个锁紧件(12),所述锁紧件(12)一端固定连接于连接板(8)两侧。

6.根据权利要求1所述的一种电力工程用维修架,其特征在于,所述丝杠(4)一端设置有轴承(5),所述丝杠(4)另一侧设置有电机(6),所述电机(6)的输出端和丝杠(4)一端固定连接。

7.根据权利要求1所述的一种电力工程用维修架,其特征在于,所述防护板(10)下端固定连接有支撑杆(9),所述支撑杆(9)下端固定连接于连接板(8)上端。

8.根据权利要求1所述的一种电力工程用维修架,其特征在于,所述延伸板(14)一端对称固定连接有两个第一电动推杆(15),所述第一电动推杆(15)一端固定连接于防护板(10)内侧,所述防护板(10)上端固定连接有防护尖座(11)。