欢迎来到知嘟嘟! 联系电话:13336804447 卖家免费入驻,海量在线求购! 卖家免费入驻,海量在线求购!
知嘟嘟
我要发布
联系电话:13336804447
知嘟嘟经纪人
收藏
专利号: 2023210769753
专利类型:实用新型
专利状态:未下证
专利领域: 暂无
更新日期:2023-10-28
缴费截止日期: 暂无
价格&联系人
年费信息
委托购买

摘要:

权利要求书:

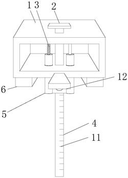
1.一种城市河道水位检测装置,包括固定支架(1),其特征在于:所述固定支架(1)的内壁活动连接有水位尺(4),所述水位尺(4)的顶部固定连接有拉把(2),所述固定支架(1)的底部安装有雷达水位计(9),所述固定支架(1)的外壁安装有监测摄像头(12),所述固定支架(1)的内壁固定连接有电机(7);

所述电机(7)的输出轴通过联轴器固定连接有螺纹套杆(3),所述螺纹套杆(3)的外壁活动连接有螺纹套筒(5),所述螺纹套筒(5)的外壁固定连接有清洁套(8),所述固定支架(1)的外壁开设有卡槽(10),所述水位尺(4)的外壁设置有标尺(11)。

2.根据权利要求1所述的一种城市河道水位检测装置,其特征在于:所述清洁套(8)的一侧固定连接有伸缩套筒(14),所述伸缩套筒(14)的内壁活动连接有伸缩套杆(13),且伸缩套杆(13)的一端与固定支架(1)的内壁固定连接。

3.根据权利要求1所述的一种城市河道水位检测装置,其特征在于:所述固定支架(1)的外壁活动安装有保护机构(6),所述保护机构(6)包括活动连接在卡槽(10)内壁的卡块(602),所述卡块(602)的外壁固定连接有透明保护壳(601)。

4.根据权利要求3所述的一种城市河道水位检测装置,其特征在于:所述透明保护壳(601)通过卡块(602)与卡槽(10)活动连接,且卡块(602)的外壁与卡槽(10)的内壁卡合连接。

5.根据权利要求2所述的一种城市河道水位检测装置,其特征在于:所述伸缩套筒(14)的内壁与伸缩套杆(13)的外壁套设连接,且伸缩套筒(14)的形状大小与伸缩套杆(13)的形状大小均相互匹配。

6.根据权利要求1所述的一种城市河道水位检测装置,其特征在于:所述螺纹套杆(3)的一端贯穿螺纹套筒(5)的一端并延伸至螺纹套筒(5)的内壁,且螺纹套杆(3)的外壁与螺纹套筒(5)的内壁螺纹连接。

7.根据权利要求1所述的一种城市河道水位检测装置,其特征在于:所述清洁套(8)通过电机(7)、螺纹套杆(3)与螺纹套筒(5)构成可升降结构,且清洁套(8)的内壁水位尺(4)的外壁活动连接。