欢迎来到知嘟嘟! 联系电话:13336804447 卖家免费入驻,海量在线求购! 卖家免费入驻,海量在线求购!
知嘟嘟
我要发布
联系电话:13336804447
知嘟嘟经纪人
收藏
专利号: 2023210326882
申请人: 安徽友方中药饮片有限公司
专利类型:实用新型
专利状态:已下证
专利领域: 一般的物理或化学的方法或装置
更新日期:2024-06-06
缴费截止日期: 暂无
价格&联系人
年费信息
委托购买

摘要:

权利要求书:

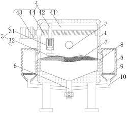
1.一种洗药后水中药草收集装置,包括过滤箱(1),所述过滤箱(1)内安装有第一过滤件(2),其特征在于:所述过滤箱(1)内设有用于清扫第一过滤件(2)的清扫机构(3),所述过滤箱(1)内设有移动机构(4),所述移动机构(4)用于带动清扫机构(3)移动,所述过滤箱(1)的两侧均设有收集箱(5),所述收集箱(5)用于收集被清扫机构(3)清扫的药草;

所述移动机构(4)包括安装在过滤箱(1)内的滑杆(41),且滑杆(41)的外周套设有滑板(42),所述滑板(42)在滑杆(41)上滑动,所述过滤箱(1)上安装有驱动件(43),所述驱动件(43)输出轴的一端通过联轴器连接有丝杆(44),所述丝杆(44)的一端贯穿滑板(42)并延伸至过滤箱(1)的内部,所述清扫机构(3)安装在滑板(42)上;

所述清扫机构(3)包括伸缩件(31),所述伸缩件(31)的一端安装有刷板(32),所述伸缩件(31)用于压紧刷板(32)紧贴第一过滤件(2)。

2.根据权利要求1所述的洗药后水中药草收集装置,其特征在于,所述伸缩件(31)包括空心柱(311),所述空心柱(311)内安装有弹性支撑件(312),所述弹性支撑件(312)的一端安装有连接杆(313),所述连接杆(313)远离弹性支撑件(312)的一端延伸至空心柱(311)的外部,所述连接杆(313)远离弹性支撑件(312)的一端与刷板(32)连接。

3.根据权利要求1所述的洗药后水中药草收集装置,其特征在于,所述第一过滤件(2)靠近清扫机构(3)一侧的中部为内凹式设置,所述第一过滤件(2)靠近清扫机构(3)一侧的两侧为倾斜设置。

4.根据权利要求1所述的洗药后水中药草收集装置,其特征在于,所述收集箱(5)与过滤箱(1)之间通过连接槽(8)相连通,所述收集箱(5)内安装有第二过滤件(9),所述收集箱(5)上连通有引流管(10),所述收集箱(5)上设有开关门(11)。

5.根据权利要求4所述的洗药后水中药草收集装置,其特征在于,所述引流管(10)与出料管(6)相连通。