欢迎来到知嘟嘟! 联系电话:13336804447 卖家免费入驻,海量在线求购! 卖家免费入驻,海量在线求购!
知嘟嘟
我要发布
联系电话:13336804447
知嘟嘟经纪人
收藏
专利号: 2023210211709
专利类型:实用新型
专利状态:未下证
专利领域: 暂无
更新日期:2024-04-08
缴费截止日期: 暂无
价格&联系人
年费信息
委托购买

摘要:

权利要求书:

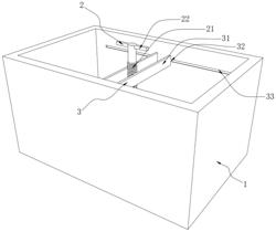
1.一种铸件加工淬火设备,包括淬火槽(1),其特征在于:还包括设置在淬火槽(1)一侧的抬升组件(2),所述抬升组件(2)包括螺柱(21)、把手(22)、螺筒(23)、滤板(24)和滤孔(25),所述螺柱(21)的内表面和所述螺柱(21)的一端旋转连接,且所述螺柱(21)的另一端固定安装有所述把手(22),并且所述螺柱(21)的表面还螺纹连接有所述螺筒(23),同时所述螺筒(23)的表面还和所述滤板(24)固定连接,所述滤板(24)的表面和所述淬火槽(1)的内表面滑动连接,且所述滤板(24)的表面均匀开设有所述滤孔(25)。

2.根据权利要求1所述的铸件加工淬火设备,其特征在于:所述螺筒(23)的位置位于所述滤板(24)的中点。

3.根据权利要求1所述的铸件加工淬火设备,其特征在于:所述滤板(24)的形状为“八”字状。

4.根据权利要求1所述的铸件加工淬火设备,其特征在于:还包括设置在淬火槽(1)一侧的清理组件(3),所述清理组件(3)包括刮板(31)、滑块(32)和滑槽(33),所述淬火槽(1)的内表面设置有所述刮板(31),且所述刮板(31)的两侧一体成型有所述滑块(32),并且所述滑块(32)滑动连接在所述淬火槽(1)内表面开设的所述滑槽(33)中。

5.根据权利要求4所述的铸件加工淬火设备,其特征在于:所述刮板(31)和所述滑槽(33)对称设置在所述淬火槽(1)的内部。

我要求购
我不想找了,帮我找吧
您有专利需要变现?
我要出售
智能匹配需求,快速出售