欢迎来到知嘟嘟! 联系电话:13095918853 卖家免费入驻,海量在线求购! 卖家免费入驻,海量在线求购!
知嘟嘟
我要发布
联系电话:13095918853
知嘟嘟经纪人
收藏
专利号: 2023210060234
申请人: 刘培进
专利类型:实用新型
专利状态:已下证
专利领域: 工程元件或部件;为产生和保持机器或设备的有效运行的一般措施;一般绝热
更新日期:2024-02-23
缴费截止日期: 暂无
价格&联系人
年费信息
委托购买

摘要:

权利要求书:

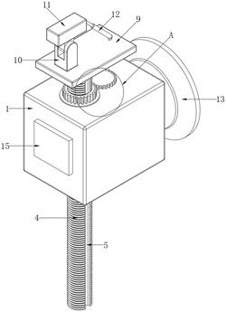
1.一种便于调节的客流计数器,包括调节盒(1),其特征在于:所述调节盒(1)的顶部转动连接有齿圈(2),所述调节盒(1)的底部固定连接有连接套筒(3),所述齿圈(2)和连接套筒(3)的内部之间设置有丝杆(4),所述丝杆(4)与齿圈(2)螺纹连接,所述丝杆(4)的外侧开设有键槽(5),所述连接套筒(3)的内部设置有配合键槽(5)使用的平键,所述丝杆(4)通过键槽(5)与平键之间的配合实现与连接套筒(3)滑动连接,所述调节盒(1)的内部固定连接有隔板(6),所述隔板(6)的顶部固定连接有驱动马达(7),所述驱动马达(7)的输出端延伸至调节盒(1)的上方且固定连接有齿轮(8),所述齿轮(8)与齿圈(2)啮合连接。

2.根据权利要求1所述的一种便于调节的客流计数器,其特征在于:所述丝杆(4)的顶部固定连接有顶板(9),所述顶板(9)的顶部固定连接有转动块(10),所述转动块(10)的顶部转动连接有客流计数器本体(11)。

3.根据权利要求2所述的一种便于调节的客流计数器,其特征在于:所述顶板(9)的顶部转动连接有微型电动推杆(12),所述微型电动推杆(12)的活动端与客流计数器本体(11)的一侧转动连接。

4.根据权利要求1所述的一种便于调节的客流计数器,其特征在于:所述调节盒(1)的一侧固定连接有电动吸盘(13),所述调节盒(1)的颞部且位于隔板(6)的下方固定连接有蓄电池(14)。

5.根据权利要求1所述的一种便于调节的客流计数器,其特征在于:所述调节盒(1)远离电动吸盘(13)的一侧固定连接有控制面板(15),所述驱动马达(7)、微型电动推杆(12)和电动吸盘(13)均与控制面板(15)电性连接。