欢迎来到知嘟嘟! 联系电话:13336804447 卖家免费入驻,海量在线求购! 卖家免费入驻,海量在线求购!
知嘟嘟
我要发布
联系电话:13336804447
知嘟嘟经纪人
收藏
专利号: 2023208856753
申请人: 金凯利(东莞)智能科技有限公司
专利类型:实用新型
专利状态:已下证
专利领域: 工程元件或部件;为产生和保持机器或设备的有效运行的一般措施;一般绝热
更新日期:2024-02-23
缴费截止日期: 暂无
价格&联系人
年费信息
委托购买

摘要:

权利要求书:

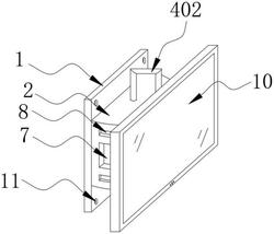
1.一种壁挂式LED显示屏,包括固定板(1),其特征在于:所述固定板(1)的一侧固定连接有拱形箱(2),所述拱形箱(2)内壁的底部转动连接有旋转柱(3),所述旋转柱(3)的顶部设置有限位机构(4);

所述限位机构(4)包括连接柱(401)、回型拉手(402)、弹簧(403)、滑块(404)、限位孔(405)和限位柱(406),所述旋转柱(3)的顶部固定连接有连接柱(401),所述连接柱(401)的顶部均匀开设有偶数个限位孔(405),所述拱形箱(2)的顶部开设有两个拉手孔(6),两个所述拉手孔(6)内部滑动连接有回型拉手(402),所述回型拉手(402)的一端延伸至拱形箱(2)内部,所述回型拉手(402)的内壁与拱形箱(2)内壁的顶部之间固定连接有弹簧(403),所述回型拉手(402)的两侧且位于拱形箱(2)的内部固定连接有滑块(404),所述拱形箱(2)内壁顶部且位于回型拉手(402)的两侧固定连接有U型块(5),所述滑块(404)与U型块(5)滑动连接;

所述回型拉手(402)的底部固定连接有两个限位柱(406),所述限位柱(406)均延伸至对应的限位孔(405)内部。

2.根据权利要求1所述的一种壁挂式LED显示屏,其特征在于:所述拱形箱(2)的外侧开设有移动槽(7),所述拱形箱(2)的外侧且位于移动槽(7)的上方和下方均开设有两个滑槽(8)。

3.根据权利要求2所述的一种壁挂式LED显示屏,其特征在于:所述连接柱(401)远离旋转柱(3)的一端穿过移动槽(7)且延伸至拱形箱(2)的外侧,所述连接柱(401)远离旋转柱(3)的一端固定连接有显示屏(10)。

4.根据权利要求3所述的一种壁挂式LED显示屏,其特征在于:所述显示屏(10)的一侧且位于连接柱(401)的上方与下方转动连接有两个滑轮(9),所述滑轮(9)与对应的滑槽(8)滚动连接。

5.根据权利要求1所述的一种壁挂式LED显示屏,其特征在于:所述固定板(1)的四角均开设有定位孔(11)。

6.根据权利要求5所述的一种壁挂式LED显示屏,其特征在于:所述固定板(1)远离拱形箱(2)的一侧固定连接有橡胶垫片(12),所述橡胶垫片(12)的四角开设有与定位孔(11)配合使用的通孔。