欢迎来到知嘟嘟! 联系电话:13336804447 卖家免费入驻,海量在线求购! 卖家免费入驻,海量在线求购!
知嘟嘟
我要发布
联系电话:13336804447
知嘟嘟经纪人
收藏
专利号: 2023208578067
申请人: 合肥唯宾达酒店管理有限公司
专利类型:实用新型
专利状态:已下证
专利领域: 照明
更新日期:2024-02-26
缴费截止日期: 暂无
价格&联系人
年费信息
委托购买

摘要:

权利要求书:

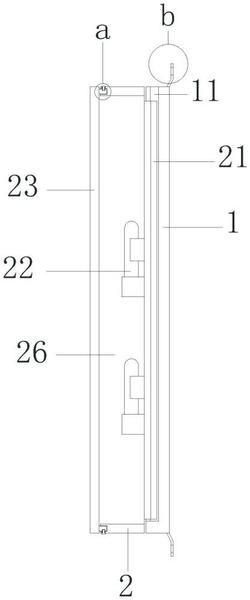
1.一种酒店管理迎宾灯,其特征在于:包括安装座(1)和迎宾灯本体(2);

所述迎宾灯本体(2)的后端面设有滑块(21),所述安装座(1)的前端面设有与所述滑块(21)相互配合的滑槽(11),所述滑槽(11)的上端面为贯穿所述安装座(1),所述滑块(21)伸入到所述滑槽(11)内与所述滑槽(11)滑动连接,所述迎宾灯本体(2)的前端面设有向内凹进的凹槽(26),所述凹槽(26)内安装有灯源(22),所述迎宾灯本体(2)的前端面可拆卸安装有盖子(23),所述盖子(23)为透光材质,所述盖子(23)的后端面设有插块(231),所述迎宾灯本体(2)的前端面设有与所述插块(231)契合的插槽(24),所述迎宾灯本体(2)的上下两端对称设有安装孔(25),所述安装孔(25)连通所述插槽(24),所述安装孔(25)内安装有固定组件(3),所述固定组件(3)用于固定所述插块(231)。

2.根据权利要求1所述的一种酒店管理迎宾灯,其特征在于:所述固定组件(3)包括固定销(31)和固定孔(32),所述固定销(31)滑动连接在所述安装孔(25)内,所述固定孔(32)设置在所述插块(231)的外壁,且与所述安装孔(25)相对,所述固定销(31)的左右两端对称设有推动件(4),所述推动件(4)用于将固定销(31)持续顶在固定孔(32)内。

3.根据权利要求2所述的一种酒店管理迎宾灯,其特征在于:一种酒店管理迎宾灯对称设置的所述推动件(4)包括弹簧(42)和导向块(41),所述导向块(41)分别安装在所述固定销(31)的外壁,所述安装孔(25)内对称设有与所述导向块(41)相互配合的导向槽(251),所述弹簧(42)设置在所述导向槽(251)内,且所述弹簧(42)的两端与所述导向块(41)和所述导向槽(251)固定连接。

4.根据权利要求2所述的一种酒店管理迎宾灯,其特征在于:所述固定销(31)插入到固定孔(32)内的一端设有弧面。

5.根据权利要求1所述的一种酒店管理迎宾灯,其特征在于:所述安装座(1)的左右两端对称设有固定板(12)、所述固定按的前端面设有通孔(13)。

6.根据权利要求1所述的一种酒店管理迎宾灯,其特征在于:所述滑块(21)和所述滑槽(11)的俯视截面为T字形。