欢迎来到知嘟嘟! 联系电话:13336804447 卖家免费入驻,海量在线求购! 卖家免费入驻,海量在线求购!
知嘟嘟
我要发布
联系电话:13336804447
知嘟嘟经纪人
收藏
专利号: 2023208228576
申请人: 阜新九丰液压有限公司
专利类型:实用新型
专利状态:已下证
专利领域: 磨削;抛光
更新日期:2024-02-26
缴费截止日期: 暂无
价格&联系人
年费信息
委托购买

摘要:

权利要求书:

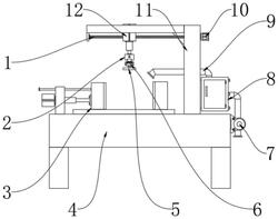
1.一种精铁铸件表面精加工装置,包括精铁铸件打磨平台(4)、集尘箱(8)和支架(11),其特征在于:所述精铁铸件打磨平台(4)的顶端安装有夹持组件(3),所述精铁铸件打磨平台(4)顶端的一侧安装有支架(11);

所述支架(11)一侧的顶端安装有螺杆(1),且螺杆(1)的一侧安装有伺服电机(10),所述螺杆(1)的一端安装有驱动气缸(12),且驱动气缸(12)的底端设置有驱动电机(6),所述驱动电机(6)与驱动气缸(12)之间设置有调节结构(2),所述驱动电机(6)的底端安装有打磨头(5),所述支架(11)一侧的底端安装有集尘箱(8);

所述集尘箱(8)顶端的一侧安装有吸尘管(9),所述集尘箱(8)的底端安装有风机(7),所述集尘箱(8)的内部设置有清理机构(13),所述集尘箱(8)内部的一侧安装有过滤网(15),所述过滤网(15)的一侧均匀设置有拆装结构(14),所述拆装结构(14)包括有限位杆(1401)、卡套(1402)和螺纹槽(1403),所述限位杆(1401)均匀安装在过滤网(15)的一侧,所述限位杆(1401)的外侧均安装有卡套(1402),且卡套(1402)的内部均开设有螺纹槽(1403)。

2.根据权利要求1所述的一种精铁铸件表面精加工装置,其特征在于:所述调节结构(2)包括有固定螺栓(201)、调节块(202)和调节槽(203),所述调节槽(203)安装在驱动气缸(12)的底端,所述调节槽(203)的内部安装有调节块(202),所述调节槽(203)的两端均安装有固定螺栓(201)。

3.根据权利要求2所述的一种精铁铸件表面精加工装置,其特征在于:所述固定螺栓(201)呈对称设置,所述固定螺栓(201)通过调节槽(203)呈垂直中心对称分布。

4.根据权利要求2所述的一种精铁铸件表面精加工装置,其特征在于:所述调节槽(203)两端的内壁上均设置有螺纹孔,所述调节槽(203)通过螺纹与固定螺栓(201)相啮合。

5.根据权利要求1所述的一种精铁铸件表面精加工装置,其特征在于:所述驱动气缸(12)的一端设置有活动块,所述活动块与螺杆(1)构成螺纹连接。

6.根据权利要求1所述的一种精铁铸件表面精加工装置,其特征在于:所述清理机构(13)包括有防护壳(1301)、转轴(1302)、清理刷(1303)和固定电机(1304),所述防护壳(1301)安装在集尘箱(8)内部的另一侧,所述防护壳(1301)的内部安装有固定电机(1304),且固定电机(1304)的一侧安装有转轴(1302),所述转轴(1302)的一侧安装有清理刷(1303)。

7.根据权利要求1所述的一种精铁铸件表面精加工装置,其特征在于:所述过滤网(15)呈圆形设计,所述限位杆(1401)在过滤网(15)的一侧呈环形分布。