欢迎来到知嘟嘟! 联系电话:13336804447 卖家免费入驻,海量在线求购! 卖家免费入驻,海量在线求购!
知嘟嘟
我要发布
联系电话:13336804447
知嘟嘟经纪人
收藏
专利号: 2023206974327
申请人: 江西万泰达电子科技有限公司
专利类型:实用新型
专利状态:已下证
专利领域: 摄影术;电影术;利用了光波以外其他波的类似技术;电记录术;全息摄影术〔4〕
更新日期:2024-02-23
缴费截止日期: 暂无
价格&联系人
年费信息
委托购买

摘要:

权利要求书:

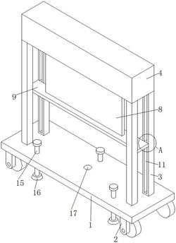
1.户外投影银幕,其特征在于,包括支撑底座(1),所述支撑底座(1)的底部四个拐角位置处均固定连接有行走轮(2),所述支撑底座(1)的顶部固定连接有固定支杆(3),所述固定支杆(3)的另一端固定连接有安装机箱(4),所述安装机箱(4)的内侧固定连接有呈对称设置的固定隔板(5),所述固定隔板(5)的一侧转动连接有收卷转辊(6),所述安装机箱(4)的内侧固定连接有收卷电机(7),且所述收卷电机(7)的主轴通过联轴器固定连接于收卷转辊(6),所述收卷转辊(6)的一侧固定连接有投影银幕布(8),所述投影银幕布(8)的一侧固定连接有活动支板(9)。

2.根据权利要求1所述的户外投影银幕,其特征在于,所述固定支杆(3)的个数为四个且为两个一组呈对称设置,所述活动支板(9)的一侧固定连接有限位滑块(10),每个所述固定支杆(3)的内侧均开设有限位滑槽(11),且所述活动支板(9)通过限位滑块(10)滑动连接于限位滑槽(11)。

3.根据权利要求1所述的户外投影银幕,其特征在于,所述固定隔板(5)的一侧转动连接有清洁刷辊(12),且所述清洁刷辊(12)呈投影银幕布(8)对称设置。

4.根据权利要求3所述的户外投影银幕,其特征在于,所述安装机箱(4)的内侧固定连接有清洁电机(13),位于前方的所述清洁刷辊(12)的一端通过联轴器固定连接于清洁电机(13)的主轴,两个所述清洁刷辊(12)的一端均固定连接有传动齿轮(14),且两个所述传动齿轮(14)相互啮合连接。

5.根据权利要求1所述的户外投影银幕,其特征在于,所述支撑底座(1)的内侧螺旋连接有调节螺杆(15),所述调节螺杆(15)的一端固定连接有调节转盘,所述调节螺杆(15)的另一端转动连接有活动底座(16)。

6.根据权利要求1所述的户外投影银幕,其特征在于,所述支撑底座(1)的顶部内侧嵌设有水平气泡(17),且所述水平气泡(17)位于支撑底座(1)的中央位置处。