欢迎来到知嘟嘟! 联系电话:13336804447 卖家免费入驻,海量在线求购! 卖家免费入驻,海量在线求购!
知嘟嘟
我要发布
联系电话:13336804447
知嘟嘟经纪人
收藏
专利号: 2023206285678
申请人: 湖北省嘉野生态农业有限公司
专利类型:实用新型
专利状态:已下证
专利领域: 其他类不包含的食品或食料;及其处理
更新日期:2024-04-03
缴费截止日期: 暂无
价格&联系人
年费信息
委托购买

摘要:

权利要求书:

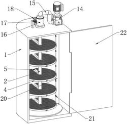
1.一种食品保鲜风干装置,包括保鲜柜(1)和设置在保鲜柜(1)内部的定位机构,其特征在于:所述定位机构包括安装组件、滑动组件和定位组件;

所述安装组件包括固定杆(2)、支撑板(3)、放置网板(4)和限位槽(5),所述保鲜柜(1)的内壁固定连接有固定杆(2),所述固定杆(2)的外壁固定连接有支撑板(3),所述支撑板(3)的顶端设置有放置网板(4),所述放置网板(4)与固定杆(2)的连接部位开设有限位槽(5);

所述滑动组件包括定位框架(6)、推杆(7)和连接滑块(8),所述放置网板(4)的底端固定连接有定位框架(6),所述定位框架(6)的外壁贯穿有推杆(7),所述推杆(7)的一端固定连接有与定位框架(6)的内壁滑动连接有连接滑块(8);

所述定位组件包括滑动孔板(9)、旋转板(10)、伸缩孔板(11)、伸缩卡块(12)和定位弹簧(13),所述连接滑块(8)的侧壁固定连接有滑动孔板(9),所述滑动孔板(9)的外壁活动连接有与定位框架(6)内壁旋接的旋转板(10),所述旋转板(10)的一端活动连接有伸缩孔板(11),所述伸缩孔板(11)的一端位于固定杆(2)的一侧固定连接有与定位框架(6)内壁滑动连接的伸缩卡块(12),所述伸缩卡块(12)的一端固定连接有与定位框架(6)内壁固定连接的定位弹簧(13)。

2.根据权利要求1所述的一种食品保鲜风干装置,其特征在于:所述保鲜柜(1)的顶端固定连接有工作风机(14),所述工作风机(14)的输出端安装有连接管(15),所述连接管(15)的一端旋接有与保鲜柜(1)内壁旋接的连接缸筒(16),所述连接缸筒(16)的一侧位于保鲜柜(1)的顶端固定连接有旋转电机(17),所述旋转电机(17)的输出端安装有齿轮(18),所述齿轮(18)的外壁啮合有与连接缸筒(16)外壁固定连接的齿环(19),所述连接缸筒(16)的底端位于固定连接有放置网板(4)的一侧固定连接有旋转管(20),所述旋转管(20)的内壁开设有通风口(21),所述保鲜柜(1)的外壁旋接有柜门(22)。

3.根据权利要求1所述的一种食品保鲜风干装置,其特征在于:所述支撑板(3)设置有五组,五组所述支撑板(3)的位置关系为沿固定杆(2)的外壁等距分布,所述限位槽(5)的外形呈“U”形。

4.根据权利要求1所述的一种食品保鲜风干装置,其特征在于:所述滑动孔板(9)设置有两组,两组所述滑动孔板(9)的位置关系关于连接滑块(8)相对称,所述旋转板(10)通过连接滑块(8)和滑动孔板(9)与定位框架(6)之间构成旋转结构。

5.根据权利要求1所述的一种食品保鲜风干装置,其特征在于:所述伸缩卡块(12)通过旋转板(10)和伸缩孔板(11)与固定杆(2)之间构成卡合结构。

6.根据权利要求2所述的一种食品保鲜风干装置,其特征在于:所述连接缸筒(16)通过齿轮(18)和齿环(19)与保鲜柜(1)之间构成旋转结构,所述旋转管(20)设置有两组。

7.根据权利要求2所述的一种食品保鲜风干装置,其特征在于:所述通风口(21)设置有五组,五组所述通风口(21)的位置关系为沿旋转管(20)的外壁等距分布。