欢迎来到知嘟嘟! 联系电话:13336804447 卖家免费入驻,海量在线求购! 卖家免费入驻,海量在线求购!
知嘟嘟
我要发布
联系电话:13336804447
知嘟嘟经纪人
收藏
专利号: 2023204642685
申请人: 安徽威仕达智能科技有限公司
专利类型:实用新型
专利状态:已下证
专利领域: 发电、变电或配电
更新日期:2025-05-13
缴费截止日期: 暂无
价格&联系人
年费信息
委托购买

摘要:

权利要求书:

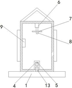
1.一种电力配电箱,包括底座(1),其特征在于:所述底座(1)外设有防护机构(2);

所述防护机构(2)包括固定安装于底座(1)上表面的配电箱(3),所述配电箱(3)上表面固定连接有插接至配电箱(3)内的连接杆(13),所述配电箱(3)内固定连接有保护杆(4),所述保护杆(4)内固定连接有按钮(5),所述配电箱(3)内固定连接有电动推杆(6),所述电动推杆(6)下表面固定连接有安装板(7),所述安装板(7)下表面固定连接有警报灯(8),所述配电箱(3)内固定连接有音响(9),所述配电箱(3)左表面螺纹连接有第一保护板(10),所述配电箱(3)右表面螺纹连接有第二保护板(11),所述配电箱(3)上表面固定连接有缓冲垫(12)。

2.根据权利要求1所述的一种电力配电箱,其特征在于:所述警报灯(8)与按钮(5)电连接,所述警报灯(8)与音响(9)电连接。

3.根据权利要求1所述的一种电力配电箱,其特征在于:所述连接杆(13)插接至保护杆(4)内,所述缓冲垫(12)与配电箱(3)相适配。

4.根据权利要求1所述的一种电力配电箱,其特征在于:所述按钮(5)与连接杆(13)位于同一位置平面,所述按钮(5)在保护杆(4)内位于连接杆(13)的上端。

5.根据权利要求1所述的一种电力配电箱,其特征在于:所述警报灯(8)在配电箱(3)内位于保护杆(4)的上端,所述按钮(5)与电动推杆(6)电连接。

6.根据权利要求1所述的一种电力配电箱,其特征在于:所述缓冲垫(12)为V形垫,所述第一保护板(10)与第二保护板(11)均与配电箱(3)相适配。