欢迎来到知嘟嘟! 联系电话:13336804447 卖家免费入驻,海量在线求购! 卖家免费入驻,海量在线求购!
知嘟嘟
我要发布
联系电话:13336804447
知嘟嘟经纪人
收藏
专利号: 2023204519375
申请人: 廊坊市星恒消防科技有限公司
专利类型:实用新型
专利状态:已下证
专利领域: 信号装置
更新日期:2025-01-09
缴费截止日期: 暂无
价格&联系人
年费信息
委托购买

摘要:

权利要求书:

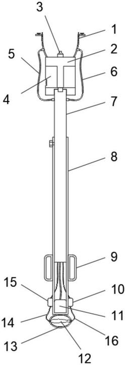
1.一种感烟探测器功能试验器,包括:支撑外筒(8),所述支撑外筒(8)的内部滑动套设有伸缩内筒(7),所述伸缩内筒(7)的上端螺纹连接有烟雾发生器(2),所述烟雾发生器(2)的上端设置有烟嘴(3),所述烟雾发生器(2)的侧边设置有储液室(4),其特征在于,所述烟雾发生器(2)的上侧设置有烟罩组件(1),所述支撑外筒(8)的下侧设置有对烟罩组件(1)内部烟气进行抽送的充吸机构;

所述烟罩组件(1)包括固定连接于烟雾发生器(2)上端的透明罩(108),所述透明罩(108)的外壁固定连接有固定盘(104),所述固定盘(104)的上端固定连接有若干个吸盘(103);

所述充吸机构包括固定连接于支撑外筒(8)下端的保护壳(13),所述保护壳(13)的内部设置有气囊(12),所述支撑外筒(8)的侧壁固定安装有第一抽吸泵(10)和第二抽吸泵(15)。

2.根据权利要求1所述的一种感烟探测器功能试验器,其特征在于,所述第二抽吸泵(15)上侧抽吸端与透明罩(108)之间连接有抽吸管(5),所述抽吸管(5)贯穿伸缩内筒(7)和支撑外筒(8)的内部,所述抽吸管(5)与伸缩内筒(7)的交接处、抽吸管(5)与支撑外筒(8)的交接处固定连接,位于两个交接处之间的抽吸管(5)位于伸缩内筒(7)和支撑外筒(8)的内部。

3.根据权利要求2所述的一种感烟探测器功能试验器,其特征在于,所述第一抽吸泵(10)上侧输出端与透明罩(108)之间连接有输送管(6),所述输送管(6)贯穿伸缩内筒(7)和支撑外筒(8)的内部,所述输送管(6)与伸缩内筒(7)的交接处、输送管(6)与支撑外筒(8)的交接处固定连接,位于两个交接处之间的输送管(6)位于伸缩内筒(7)和支撑外筒(8)的内部。

4.根据权利要求3所述的一种感烟探测器功能试验器,其特征在于,所述第二抽吸泵(15)下侧输出端与气囊(12)之间连接有输出管(14),所述第一抽吸泵(10)下侧抽吸端与气囊(12)之间连接有抽送管(16),所述输出管(14)和抽送管(16)均贯穿保护壳(13)的外壁。

5.根据权利要求2所述的一种感烟探测器功能试验器,其特征在于,所述透明罩(108)的外壁内部开设有若干个微孔(106),所述透明罩(108)左侧外壁内部套设有与透明罩(108)内部相连通且与抽吸管(5)相连接的第二连接口(107),所述透明罩(108)右侧外壁内部套设有与透明罩(108)内部相连通且与输送管(6)相连接的第一连接口(105)。

6.根据权利要求5所述的一种感烟探测器功能试验器,其特征在于,所述透明罩(108)的上端内部开设有滑槽(110),在所述滑槽(110)的内部滑动套设有伸缩环(102),所述伸缩环(102)底部与滑槽(110)底部之间固定连接有若干个复位弹簧(109),所述伸缩环(102)上端固定粘接有橡胶圈(101)。

7.根据权利要求1所述的一种感烟探测器功能试验器,其特征在于,所述支撑外筒(8)的底部固定安装有控制器(11),所述控制器(11)与烟雾发生器(2)之间连接有电线(17)。

8.根据权利要求1所述的一种感烟探测器功能试验器,其特征在于,所述支撑外筒(8)的外壁固定连接有两个把手(9)。