欢迎来到知嘟嘟! 联系电话:13336804447 卖家免费入驻,海量在线求购! 卖家免费入驻,海量在线求购!
知嘟嘟
我要发布
联系电话:13336804447
知嘟嘟经纪人
收藏
专利号: 2023203843460
申请人: 湖南三一工业职业技术学院
专利类型:实用新型
专利状态:已下证
专利领域: 输送;包装;贮存;搬运薄的或细丝状材料
更新日期:2024-07-23
缴费截止日期: 暂无
价格&联系人
年费信息
委托购买

摘要:

权利要求书:

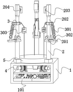
1.一种约束欠驱动组件,包括箱体(1)、支杆(2)和动力机构(4),其特征在于:所述箱体(1)顶部固定安装有三组支杆(2),所述支杆(2)顶部固定安装有连接轴件(201),所述连接轴件(201)通过轴栓安装有欠驱动夹杆(202),所述欠驱动夹杆(202)顶端一侧固定安装有压力传感器(203),所述压力传感器(203)一侧固定安装有夹板(204),所述欠驱动夹杆(202)外侧活动安装有滑套座(3),所述滑套座(3)一侧固定安装有约束弹簧(301),所述约束弹簧(301)底部固定安装有连接件(302),且连接件(302)固定安装在连接轴件(201)一侧,所述箱体(1)内部固定安装有动力机构(4),所述动力机构(4)包括安装架(401),所述安装架(401)内侧转动安装有放线辊(402),所述放线辊(402)外侧盘绕安装有线缆(403)。

2.根据权利要求1所述的一种约束欠驱动组件,其特征在于:所述箱体(1)内部的底部固定安装有无线模块(101),且无线模块(101)通过导线与控制器(6)电性连接。

3.根据权利要求1所述的一种约束欠驱动组件,其特征在于:所述滑套座(3)另一侧固定安装有拉力传感器(303),且拉力传感器(303)底部与线缆(403)一端固定连接。

4.根据权利要求1所述的一种约束欠驱动组件,其特征在于:所述安装架(401)一侧固定安装有伺服电机(404),且伺服电机(404)输出端与放线辊(402)一侧固定连接。

5.根据权利要求1所述的一种约束欠驱动组件,其特征在于:所述箱体(1)顶部固定安装有导线盘(5),且导线盘(5)内部等距开设有三组出线槽孔。

6.根据权利要求1所述的一种约束欠驱动组件,其特征在于:所述箱体(1)正面固定安装有控制器(6),且箱体(1)正面开设有对接槽。