欢迎来到知嘟嘟! 联系电话:13336804447 卖家免费入驻,海量在线求购! 卖家免费入驻,海量在线求购!
知嘟嘟
我要发布
联系电话:13336804447
知嘟嘟经纪人
收藏
专利号: 2023203678567
申请人: 南京优拓机电技术有限公司
专利类型:实用新型
专利状态:已下证
专利领域: 发电、变电或配电
更新日期:2024-02-23
缴费截止日期: 暂无
价格&联系人
年费信息
委托购买

摘要:

权利要求书:

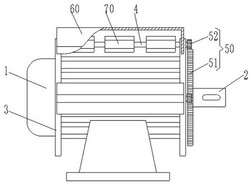
1.一种具有快速散热功能的永磁同步电机,包括:电机本体(1)和穿设在电机本体(1)上的输出轴(2),其特征在于,所述电机本体(1)的外表面两端分别套装连接有环形安装板(3),所述环形安装板(3)之间间隔转动连接有若干转轴(4),所述转轴(4)上分别套装连接有不少于一个的风叶组件(70),转动的风叶组件(70)沿转轴(4)的径向方向吹风;

还包括转动驱动机构(50),所述转动驱动机构(50)套装连接在输出轴(2)上,适于带动转轴(4)做圆周转动。

2.根据权利要求1所述的具有快速散热功能的永磁同步电机,其特征在于,所述转轴(4)的外侧设有导流壳体组件(60),适于引导风叶组件(70)吹出的风吹向电机本体(1)的外表面,所述导流壳体组件(60)连接在环形安装板(3)上。

3.根据权利要求2所述的具有快速散热功能的永磁同步电机,其特征在于,所述导流壳体组件(60)包括过度板(61)和连接在过度板(61)两侧边的倾斜导流板(62),还包括连接在过度板(61)两端的连接板(63),所述连接板(63)与倾斜导流板(62)连接,所述连接板(63)上设有与环形安装板(3)适配的弧形槽(64),所述连接板(63)上间隔设有不少于1个的第一通风孔(65)。

4.根据权利要求3所述的具有快速散热功能的永磁同步电机,其特征在于,所述倾斜导流板(62)远离过度板(61)的侧边与电机本体(1)之间存在间隙。

5.根据权利要求1所述的具有快速散热功能的永磁同步电机,其特征在于,所述风叶组件(70)包括安装套管(71)和若干条形叶片(72),所述条形叶片(72)环形阵列连接在安装套管(71)的外圆,所述安装套管(71)与转轴(4)之间通过键连接。

6.根据权利要求1所述的具有快速散热功能的永磁同步电机,其特征在于,所述转动驱动机构(50)包括主动齿轮(51)和分别套装连接在转轴(4)端部的从动齿轮(52),所述主动齿轮(51)分别与转轴(4)上的从动齿轮(52)啮合连接,所述主动齿轮(51)套装在输出轴(2)上且通过键连接。

7.根据权利要求1所述的具有快速散热功能的永磁同步电机,其特征在于,所述环形安装板(3)上环形阵列设有若干第二通风孔(8)。