欢迎来到知嘟嘟! 联系电话:13336804447 卖家免费入驻,海量在线求购! 卖家免费入驻,海量在线求购!
知嘟嘟
我要发布
联系电话:13336804447
知嘟嘟经纪人
收藏
专利号: 202320266281X
申请人: 扬州市精亚机械工具有限责任公司
专利类型:实用新型
专利状态:已下证
专利领域: 锁;钥匙;门窗零件;保险箱
更新日期:2024-04-03
缴费截止日期: 暂无
价格&联系人
年费信息
委托购买

摘要:

权利要求书:

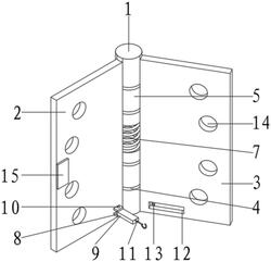
1.一种自关铰链,包括铰链轴(1),其特征在于:所述铰链轴(1)的一侧固定连接有固定叶(2),所述铰链轴(1)的中部开设有两个空槽(4),两个所述空槽(4)内均设置有固定座(5),两个所述固定座(5)的两端均固定连接有轴承(6),所述轴承(6)的一端与空槽(4)的内壁转动连接,两个所述固定座(5)的一侧固定连接有活动叶(3),所述铰链轴(1)的中部设置有扭簧(7),所述扭簧(7)的两端分别与固定叶(2)和活动叶(3)固定连接,所述固定叶(2)的表面靠近底端设置有支撑结构。

2.根据权利要求1所述的一种自关铰链,其特征在于:所述固定叶(2)的表面一侧固定连接有橡胶垫(15)。

3.根据权利要求1所述的一种自关铰链,其特征在于:所述支撑结构包括固定在固定叶(2)表面的转动底座(8),所述转动底座(8)的内部开设有通槽,所述通槽内设置有连接杆(9),所述连接杆(9)的一端固定连接有挂钩(11),所述活动叶(3)的表面靠近挂钩(11)处固定连接有与挂钩(11)相匹配的挂环(13)。

4.根据权利要求3所述的一种自关铰链,其特征在于:所述转动底座(8)的表面设置有销轴(10),所述销轴(10)的底端穿过转动底座(8)和连接杆(9)并延伸至转动底座(8)的下方,所述连接杆(9)通过销轴(10)与转动底座(8)转动连接。

5.根据权利要求3所述的一种自关铰链,其特征在于:所述活动叶(3)的表面开设有条形口(12),所述挂环(13)位于条形口(12)的内部,且所述挂环(13)位于条形口(12)的内部。

6.根据权利要求4所述的一种自关铰链,其特征在于:所述固定叶(2)和活动叶(3)的表面均开设有若干个螺纹孔(14)。

我要求购
我不想找了,帮我找吧
您有专利需要变现?
我要出售
智能匹配需求,快速出售