欢迎来到知嘟嘟! 联系电话:13336804447 卖家免费入驻,海量在线求购! 卖家免费入驻,海量在线求购!
知嘟嘟
我要发布
联系电话:13336804447
知嘟嘟经纪人
收藏
专利号: 2023201479215
申请人: 南京汤山精酿啤酒有限公司
专利类型:实用新型
专利状态:已下证
专利领域: 破碎、磨粉或粉碎;谷物碾磨的预处理
更新日期:2024-11-06
缴费截止日期: 暂无
价格&联系人
年费信息
委托购买

摘要:

权利要求书:

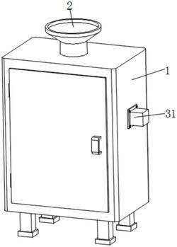
1.一种原料振动锤击式粉碎器,包括机体(1),其特征在于:所述机体(1)的顶部固定连接有进料口(2),所述进料口(2)的下方设置有粉碎组件(3),所述粉碎组件(3)包括电机(31),且电机(31)固定连接在机体(1)的外壁上,所述电机(31)的输出轴上固定连接有转轴(32),所述转轴(32)贯穿凸轮(33)且与凸轮(33)固定连接,所述转轴(32)贯穿转动辊(34)且与转动辊(34)固定连接,所述转动辊(34)的外壁上固定连接有弹性伸缩杆(35),所述弹性伸缩杆(35)的伸缩端上固定连接有粉碎锤(36),所述粉碎组件(3)的下方设置有支撑筛分组件(4),所述机体(1)的内壁上固定连接有固定块(5),所述固定块(5)中镶嵌安装有防堵塞组件(6),所述机体(1)的底部内壁上滑动连接有收集箱(7),所述防堵塞组件(6)包括:液压仓(61),所述液压仓(61)镶嵌安装在固定块(5)中;

T杆(62),所述T杆(62)活塞连接在液压仓(61)靠近支撑筛分组件(4)的一端;

活塞杆(63),所述活塞杆(63)活塞连接在液压仓(61)远离T杆(62)的一端;

及挡板(64),所述挡板(64)固定连接在活塞杆(63)远离液压仓(61)的一端。

2.根据权利要求1所述的一种原料振动锤击式粉碎器,其特征在于:所述活塞杆(63)与液压仓(61)的内壁通过复位弹簧(65)弹性连接。

3.根据权利要求1所述的一种原料振动锤击式粉碎器,其特征在于:所述支撑筛分组件(4)包括筛分板(41),且筛分板(41)滑动连接在机体(1)的内壁上,所述机体(1)的内壁上固定连接有支撑板(42),所述支撑板(42)与筛分板(41)通过支撑弹簧(43)弹性连接。

4.根据权利要求1所述的一种原料振动锤击式粉碎器,其特征在于:所述固定块(5)的外壁上固定连接有限位块(51)。

我要求购
我不想找了,帮我找吧
您有专利需要变现?
我要出售
智能匹配需求,快速出售