欢迎来到知嘟嘟! 联系电话:13336804447 卖家免费入驻,海量在线求购! 卖家免费入驻,海量在线求购!
知嘟嘟
我要发布
联系电话:13336804447
知嘟嘟经纪人
收藏
专利号: 2023114977764
申请人: 山东宝德龙健身器材有限公司
专利类型:发明专利
专利状态:授权未缴费
专利领域: 测量;测试
更新日期:2024-06-18
缴费截止日期: 暂无
价格&联系人
年费信息
委托购买

摘要:

权利要求书:

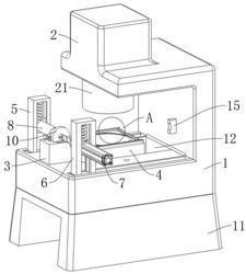
1.一种健身器材用静力加载实验机,其特征在于,包括实验台(1)和安装在实验台(1)上的液压缸(2);

滑动连接在所述实验台(1)上的左支撑架(5)和右支撑架(6),所述左支撑架(5)上设有支撑块,所述右支撑架(6)上设有伸缩组件,所述伸缩组件上设有挡块(71),所述挡块(71)和支撑块配合,用于对杠铃片(10)进行竖直方向限位;

所述挡块(71)上设有支撑杆(72),所述支撑杆(72)用于对杠铃片(10)进行支撑移动和前后方向限位;

所述液压缸(2)输出端固定连接有施压柱(21),所述施压柱(21)上安装有可收纳的上防护罩(22),所述实验台(1)上固定连接有施压台(4),所述施压台(4)上安装有可收纳的下防护罩(42),所述上防护罩(22)和下防护罩(42)相互配合形成防护罩,用于对杠铃片(10)实验时进行防护;

所述实验台(1)上对称开设有滑槽(14),两个所述滑槽(14)内分别滑动连接有左滑块(51)和右滑块(61),所述左支撑架(5)固定连接在左滑块(51)上,所述右支撑架(6)固定连接在右滑块(61)上;

所述滑槽(14)内转动连接有螺纹杆(54),两个所述螺纹杆(54)分别与左滑块(51)、右滑块(61)螺纹连接,所述实验台(1)内固定连接有电机(55),所述电机(55)输出端与螺纹杆(54)固定连接,两个所述螺纹杆(54)一端上均固定连接有导轮(56),两个所述导轮(56)通过传动带(57)转动连接;

所述左支撑架(5)内滑动连接有左滑动块(52),所述支撑块固定连接在左滑动块(52)上,所述右支撑架(6)内滑动连接有右滑动块(62),所述伸缩组件包括电动伸缩杆(7),所述电动伸缩杆(7)固定连接在右滑动块(62)上,所述挡块(71)固定连接在电动伸缩杆(7)伸缩端上,所述左支撑架(5)和右支撑架(6)内均设有支撑拉簧(53),一个所述支撑拉簧(53)两端分别与左支撑架(5)、左滑动块(52)固定连接,另一个所述支撑拉簧(53)两端分别与右支撑架(6)、右滑动块(62)固定连接。

2.根据权利要求1所述的一种健身器材用静力加载实验机,其特征在于,所述实验台(1)上固定连接有放置台(3),所述放置台(3)上开设有各种规格大小的放置槽(31),用于对不同规格的杠铃片(10)进行放置。

3.根据权利要求2所述的一种健身器材用静力加载实验机,其特征在于,所述支撑块包括支撑筒(8),所述支撑筒(8)一端固定连接在左滑动块(52)上,所述支撑筒(8)另一端开设有与支撑杆(72)相对应的开口,用于支撑杆(72)与支撑筒(8)插接。

4.根据权利要求3所述的一种健身器材用静力加载实验机,其特征在于,所述施压柱(21)上开设有上收纳槽(23),所述上收纳槽(23)内滑动连接有限位环,所述上防护罩(22)固定连接在限位环上,所述上收纳槽(23)内设有复位拉簧(24),所述复位拉簧(24)一端与上收纳槽(23)内壁固定连接,所述复位拉簧(24)另一端与限位环固定连接,所述施压柱(21)侧壁上固定连接有与上收纳槽(23)相连通的充气管(25);

所述施压台(4)上开设有下收纳槽(16),所述下防护罩(42)滑动连接下收纳槽(16)内,所述施压台(4)侧壁上固定连接有与下收纳槽(16)相连通的进气管(17),所述实验台(1)上固定连接有与下收纳槽(16)相连通的泄气管(18),所述泄气管(18)内安装有压力阀;

所述支撑筒(8)内滑动连接有活塞头(81),所述支撑筒(8)上连通有吸气管(83)和排气管(84),所述吸气管(83)内安装有单向阀,所述排气管(84)与进气管(17)、充气管(25)相连通,所述支撑筒(8)内设有弹簧(82),所述弹簧(82)的两端分别与支撑筒(8)、活塞头(81)固定连接,所述支撑杆(72)远离电动伸缩杆(7)的一端与活塞头(81)相配合。

5.根据权利要求4所述的一种健身器材用静力加载实验机,其特征在于,所述支撑杆(72)转动连接在挡块(71)上,所述支撑杆(72)上开设有导向槽(721),所述导向槽(721)呈螺旋状;

所述开口内壁上固定连接有凸点(86),所述凸点(86)与导向槽(721)相配合。

6.根据权利要求1所述的一种健身器材用静力加载实验机,其特征在于,还包括:

支撑座(11),固定连接在所述实验台(1)底部,所述支撑座(11)上开设有集料通道(111),所述实验台(1)上开设有与集料通道(111)相连通的废料收集通道(12),所述废料收集通道(12)位于施压台(4)一侧,所述实验台(1)上固定连接有挡料板(15),所述挡料板(15)位于废料收集通道(12)上方,所述挡料板(15)与支撑杆(72)相配合。

7.根据权利要求6所述的一种健身器材用静力加载实验机,其特征在于,所述实验台(1)上开设有与集料通道(111)相连通的残渣收集通道(13),所述残渣收集通道(13)位于施压台(4)另一侧;

所述施压台(4)上对称固定连接有条状限位壳(41),所述条状限位壳(41)上滑动连接有刮杆(9),所述刮杆(9)底部固定连接有擦拭垫(91),所述擦拭垫(91)底部与施压台(4)相贴合。

8.根据权利要求7所述的一种健身器材用静力加载实验机,其特征在于,所述支撑块上固定连接有转动座(852),所述转动座(852)上转动连接有转动板(85),所述转动板(85)远离转动座(852)的一端呈圆弧面(851),所述圆弧面(851)与施压台(4)表面相对应,所述转动板(85)在转动座(852)限位作用下呈倾斜状,所述转动板(85)与刮杆(9)相配合;

所述条状限位壳(41)朝向残渣收集通道(13)的一端呈贯通状,所述条状限位壳(41)另一端呈闭合状,所述刮杆(9)上固定连接有线绳(92),所述线绳(92)远离刮杆(9)的一端延伸至废料收集通道(12)内固定连接有配重块(93)。