欢迎来到知嘟嘟! 联系电话:13336804447 卖家免费入驻,海量在线求购! 卖家免费入驻,海量在线求购!
知嘟嘟
我要发布
联系电话:13336804447
知嘟嘟经纪人
收藏
专利号: 2023108443488
申请人: 安徽和丰硬质合金有限公司
专利类型:发明专利
专利状态:授权未缴费
专利领域: 铸造;粉末冶金
更新日期:2024-12-16
缴费截止日期: 暂无
价格&联系人
年费信息
委托购买

摘要:

权利要求书:

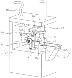
1.一种硬质合金粉末锻压加工设备,包括安装有冲压头(101)的锻压台(1),其台面上安装有模座(2),其特征在于,还包括:移动送料机构(3),其活动安装在锻压台(1)上,在将物料送入模座(2)后回移;

所述锻压台(1)内壁固定安装有送料仓(105),所述移动送料机构(3)包括活动插设于送料仓(105)上的送料套筒(302),所述送料套筒(302)底部一侧于模座(2)上方设有排料口(303)和刮整组件(5),所述送料套筒(302)底部另一侧与送料仓(105)之间安装有复位弹簧(304),所述送料套筒(302)顶部固定连接有抵接架(305),所述冲压头(101)一侧固定连接有和抵接架(305)相抵接的压杆(102),当所述冲压头(101)下移,通过压杆(102)挤压抵接架(305)来迫使送料套筒(302)朝着送料仓(105)内移动;

所述送料套筒(302)内转动连接有输料绞龙(306),所述锻压台(1)上安装有与输料绞龙(306)传动连接的驱动件(6),当所述排料口(303)离开模座(2)时,所述驱动件(6)与输料绞龙(306)之间断开连接;

顶出机构(4),其一端位于模座(2)内部,另一端和移动送料机构(3)传动连接;

所述顶出机构(4)包括位于锻压台(1)内的升降板(401),所述升降板(401)顶部一侧固定连接有插杆(402),所述插杆(402)顶部贯穿模座(2)并固定连接有垫片(403),所述升降板(401)顶部另一侧弹性连接有活动架(404),所述送料套筒(302)与活动架(404)之间安装有传动机构(7),当所述送料套筒(302)后移时抵接架(305)推移活动架(404),让所述送料套筒(302)通过传动机构(7)带动活动架(404)上移;

所述传动机构(7)包括转动安装在送料仓(105)一侧的齿柱(701),所述送料套筒(302)底部水平固定连接有和齿柱(701)相啮合的齿板(307),所述活动架(404)一侧竖直固定连接有和齿柱(701)相啮合的齿条(405);

所述移动送料机构(3)回移时停止送料,并驱动顶出机构(4)顶起模座(2)中成型的胚料,接着再在外移时推出胚料。

2.根据权利要求1所述的一种硬质合金粉末锻压加工设备,其特征在于,所述锻压台(1)的内部安装有集料槽(103),所述锻压台(1)的台面上于模座(2)外套设有套管(104),所述套管(104)与集料槽(103)相连通,且套管(104)与模座(2)之间安装有止回阻流件(8)。

3.根据权利要求1所述的一种硬质合金粉末锻压加工设备,其特征在于,所述送料仓(105)内活动安装有筛料网(12),所述齿柱(701)和筛料网(12)之前安装有连杆(702)。

4.根据权利要求2所述的一种硬质合金粉末锻压加工设备,其特征在于,所述送料仓(105)中安装有用于连通集料槽(103)和送料套筒(302)的回料管件(9),且回料管件(9)内安装有和驱动件(6)传动连接的抽吸组件(10)。

5.根据权利要求1所述的一种硬质合金粉末锻压加工设备,其特征在于,所述锻压台(1)一侧于模座(2)的出料工位处安装有胚料输送机构(11),该胚料输送机构(11)用来移送成型后的胚料。