欢迎来到知嘟嘟! 联系电话:13336804447 卖家免费入驻,海量在线求购! 卖家免费入驻,海量在线求购!
知嘟嘟
我要发布
联系电话:13336804447
知嘟嘟经纪人
收藏
专利号: 2023105843116
申请人: 熊言开
专利类型:发明专利
专利状态:授权未缴费
专利领域: 测量;测试
更新日期:2024-03-21
缴费截止日期: 暂无
价格&联系人
年费信息
委托购买

摘要:

权利要求书:

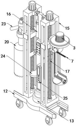
1.一种土壤重金属修复用土壤检测系统,包括内含支架组件的装置本体,其特征在于,所述支架组件的内部分别可升降的安装有升降台a(1)和升降台b(2),所述升降台b(2)的表面安装有开孔机构,所述支架组件的端面安装有检测组件;

所述升降台a(1)的内壁转动连接有通过转位电机(3)而驱动的执行架(4),所述执行架(4)的底部固定安装有护架(5),所述执行架(4)的内部滑动连接有取样架(6);

所述执行架(4)的表面固定安装有水平设置且与取样架(6)传动连接的施压模块(7),所述取样架(6)的内壁转动连接有水平设置的外钻筒(8),所述外钻筒(8)的内壁转动连接有内旋筒(9),所述内旋筒(9)的内部卡接有存样筒(10),所述存样筒(10)的尾部固定安装有断土刀(11),所述取样架(6)的上部安装有传动模组,所述内旋筒(9)和外钻筒(8)均通过传动模组驱动;所述支架组件包括底座(12),所述底座(12)的顶面固定安装有电动旋转台(13),所述电动旋转台(13)的顶面固定安装有换位架(14),所述换位架(14)的两侧面均铰接有摆架(15),所述换位架(14)与两个摆架(15)的相对表面之间均铰接有调臂推杆(16),两个所述摆架(15)的内表面之间均转动连接有通过升降电机而驱动的升降丝杆(17),两个所述升降丝杆(17)的周侧面分别与升降台a(1)和升降台b(2)传动连接,所述升降台a(1)和升降台b(2)的周侧面分别与两个摆架(15)滑动连接;所述开孔机构分别包括固定于升降台b(2)顶部的料筒(18)和固定于升降台b(2)周侧面的伺服电机(19),所述料筒(18)的底面转动连通有开孔旋筒(20),所述伺服电机(19)的输出轴端与开孔旋筒(20)传动连接,所述料筒(18)的轴线位置转动连接有通过提料电机而驱动的提料轴(21),所述提料轴(21)的周侧面固定安装有螺旋提土叶片(22),所述螺旋提土叶片(22)的周侧面分别与料筒(18)和开孔旋筒(20)转动贴合,所述料筒(18)的周侧面固定连通有向下倾斜设置的出土管(23);所述检测组件包括水平设置且与换位架(14)卡接的检测台(24)和滑动连接于换位架(14)内壁的光谱金属土壤分析仪(25),所述光谱金属土壤分析仪(25)与换位架(14)的滑动连接处固定设置有阻尼片,所述光谱金属土壤分析仪(25)的检测端对向检测台(24);所述传动模组分别包括水平设置且转动连接于取样架(6)内壁的传动轴套(26)和转动连接于传动轴套(26)内壁的断土轴(27),所述取样架(6)的表面分别固定安装有传动电机a(28)和传动电机b(29),所述传动电机a(28)的输出轴端与传动轴套(26)传动连接,所述传动电机b(29)的输出轴端与断土轴(27)传动连接,所述传动轴套(26)的周侧面通过链条a与外钻筒(8)传动连接,所述断土轴(27)的周侧面通过链条b与内旋筒(9)传动连接。

2.根据权利要求1所述的土壤重金属修复用土壤检测系统,其特征在于,所述内旋筒(9)的内部开设有一组规则分布的导向卡槽,所述存样筒(10)的周侧面且对应每个导向卡槽的位置均固定安装有与导向卡槽卡接的传动卡条。

3.根据权利要求2所述的土壤重金属修复用土壤检测系统,其特征在于,所述内旋筒(9)为两端开口的中空筒状结构,所述内旋筒(9)的内部固定开设有两个对称设置的腰形检孔(30)。

4.据权利要求1所述的土壤重金属修复用土壤检测系统,其特征在于,所述外钻筒(8)的周侧面固定安装有螺旋钻筋(31),所述外钻筒(8)和开孔旋筒(20)的端面均固定安装有一组呈圆周阵列分布的齿牙,所述断土刀(11)的两侧面均固定设置有“V”形刀口。

5.根据权利要求4所述的土壤重金属修复用土壤检测系统,其特征在于,所述护架(5)的内部固定开设有两个对称设置且与取样架(6)滑动连接的滑槽,所述护架(5)的横截面为圆盘状结构,所述护架(5)的内径为开孔旋筒(20)内径的0.7倍‑0.9倍,所述护架(5)的内部固定开设有与正对外钻筒(8)的敞口。

6.根据权利要求5所述的土壤重金属修复用土壤检测系统,其特征在于,所述施压模块(7)分别包括固定于执行架(4)表面的驱动电机和水平设置且与执行架(4)转动连接的传动丝杆,所述驱动电机的输出轴端与传动丝杆固定连接,所述传动丝杆的周侧面与取样架(6)传动连接。

7.根据权利要求1‑6任意一所述的土壤重金属修复用土壤检测系统的土壤检测方法,其特征在于,包括以下步骤:

SS001、布设,将装置本体布设于指定土壤检测区域;

SS002、开孔,SS001步骤后,通过对电动旋转台(13)的控制,使开孔旋筒(20)正对待检测区域,对准后,升降台b(2)被升降丝杆(17)驱动并缓速向下移动,升降台b(2)向下移动时,提料电机和伺服电机(19)同步工作,且通过对提料电机的输出方向控制,使螺旋提土叶片(22)向上进行提土作业,当螺旋提土叶片(22)与待检测的土壤接触时,螺旋提土叶片(22)继而将检测区域的土料向上提升并将提出的土料经由出土管(23)排出后,当升降台b(2)向下移动指定深度后,继而完成检测区域的开孔作业;

SS003、散土检测,SS002步骤后,可适当提取出土管(23)排出的散土,并将提取的散土放置于检测台(24)上,放置后,通过光谱金属土壤分析仪(25),继而可进行随机散土的土壤重金属检测作业;

SS004、芯土检测,SS002步骤后,通过对电动旋转台(13)的控制,使护架(5)与开孔开出的孔同轴设置,待同轴设置完毕后,升降台a(1)在升降丝杆(17)的驱动作用下,下移指定深度,并使外钻筒(8)对准指定待取样位置,当外钻筒(8)位置调整完毕后,施压模块(7)驱动取样架(6)向土壤的方向缓速靠近,施压模块(7)工作时,传动电机a(28)工作,传动电机b(29)静止,传动电机a(28)工作后,继而驱动外钻筒(8)进行钻土作业,当施压模块(7)工作指定时间后,传动电机a(28)停止工作,传动电机b(29)驱动内旋筒(9)旋转指定圈数,待传动电机b(29)旋转指定圈数后,在施压模块(7)和升降台a(1)的作用下,内旋筒(9)复位至初始位置,复位完毕后,检测者将存样筒(10)取出并放置于检测台(24)上,检测者使光谱金属土壤分析仪(25)的检测端通过腰形检孔(30)对准存样筒(10)内芯土的各个检测位置,继而可进行存样筒(10)内指定深度芯土的多点快速重金属检测。